首页
专利数据库
产业人才
行业动态
产业政策法规
维权援助
个人中心
登录/注册
详情
文本
图像
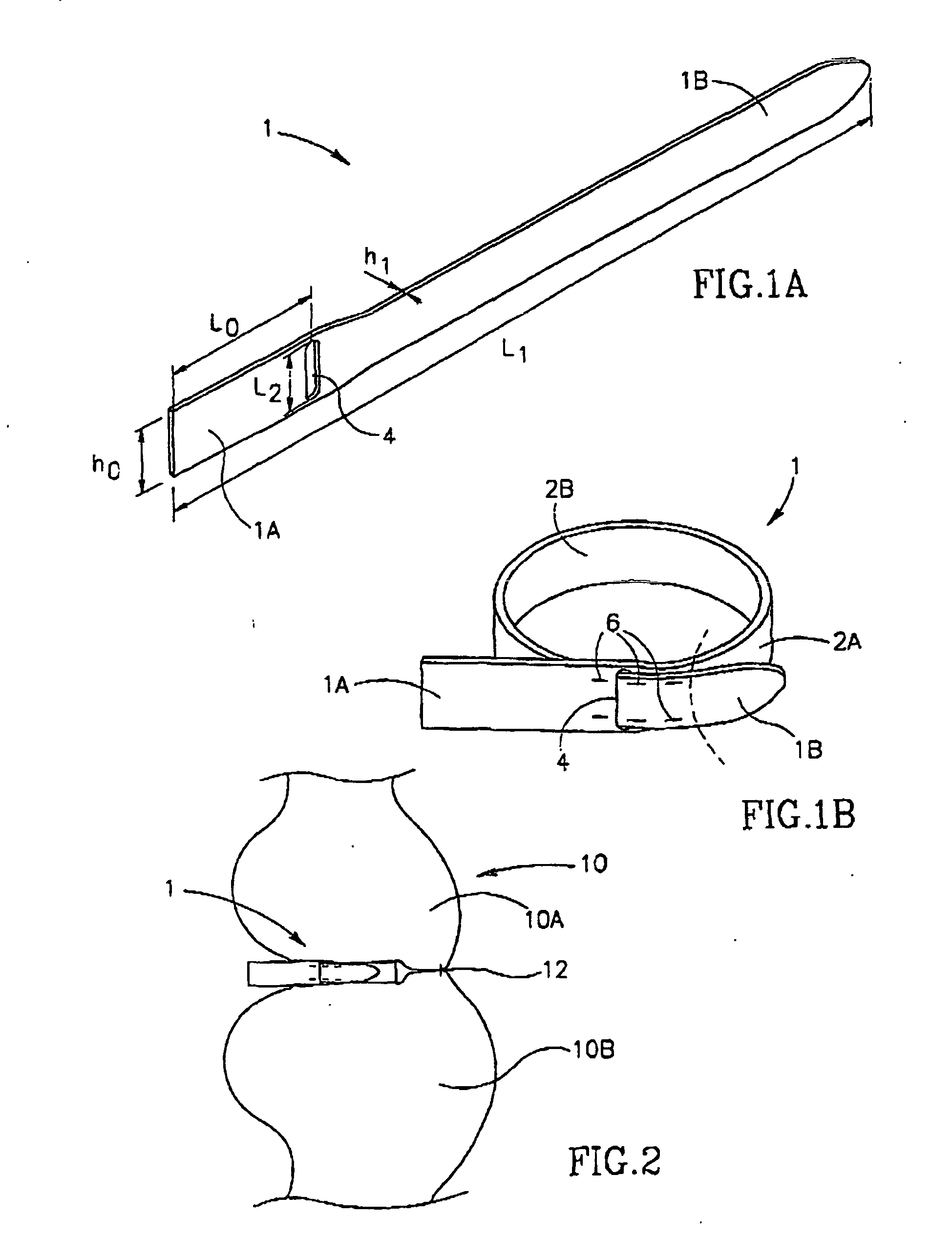
标题:
A gastric band
授权日:
2006-01-18
公开(公告)号:
EP1036545B1
申请日:
2000-03-17
公开(公告)日:
2006-01-18
当前申请(专利权)人:
MOSHE, DUDAI
发明人:
MOSHE, DUDAI
简单同族:
AT315909T | DE60025548D1 | DE60025548T2 | EP1036545A2 | EP1036545A3 | EP1036545B1 | IL129032A | IL129032D0 | US20040153106A1 | US20090306465A1 | US20140107407A1 | US6676674
简单同族成员数量:
12
简单同族被引用专利总数:
337
诉讼案件数:
0
法律状态/事件:
权利终止