标题:
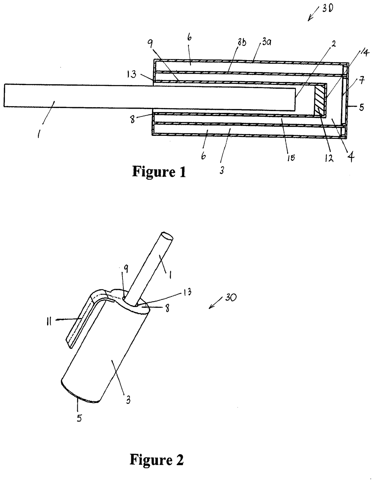
Scope warming device
授权日:
1900-01-01
公开(公告)号:
EP3384825A1
申请日:
2005-04-05
公开(公告)日:
2018-10-10
当前申请(专利权)人:
FISHER&PAYKEL HEALTHCARE LIMITED
发明人:
BLACKHURST, MICHAEL JOSEPH | MURPHY, ROBERT ASHTON | GULLIVER, LAURENCE
简单同族:
AU2005230803A1 | AU2005230803B2 | AU2005230803B8 | CA2563293A1 | CA3011752A1 | CN101022759A | CN101022759B | EP1737336A1 | EP1737336A4 | EP1737336B1 | EP1737336B8 | EP3384825A1 | JP2007531607A | JP2007531607A5 | JP2011229924A | JP2011229924A5 | JP4776617B2 | JP5628742B2 | NZ550393A | NZ550393B | US20080194915A1 | US20150282700A1 | US20180310816A1 | US9060676 | US9993146 | WO2005096916A1
简单同族成员数量:
26
简单同族被引用专利总数:
48
诉讼案件数:
0
法律状态/事件:
公开