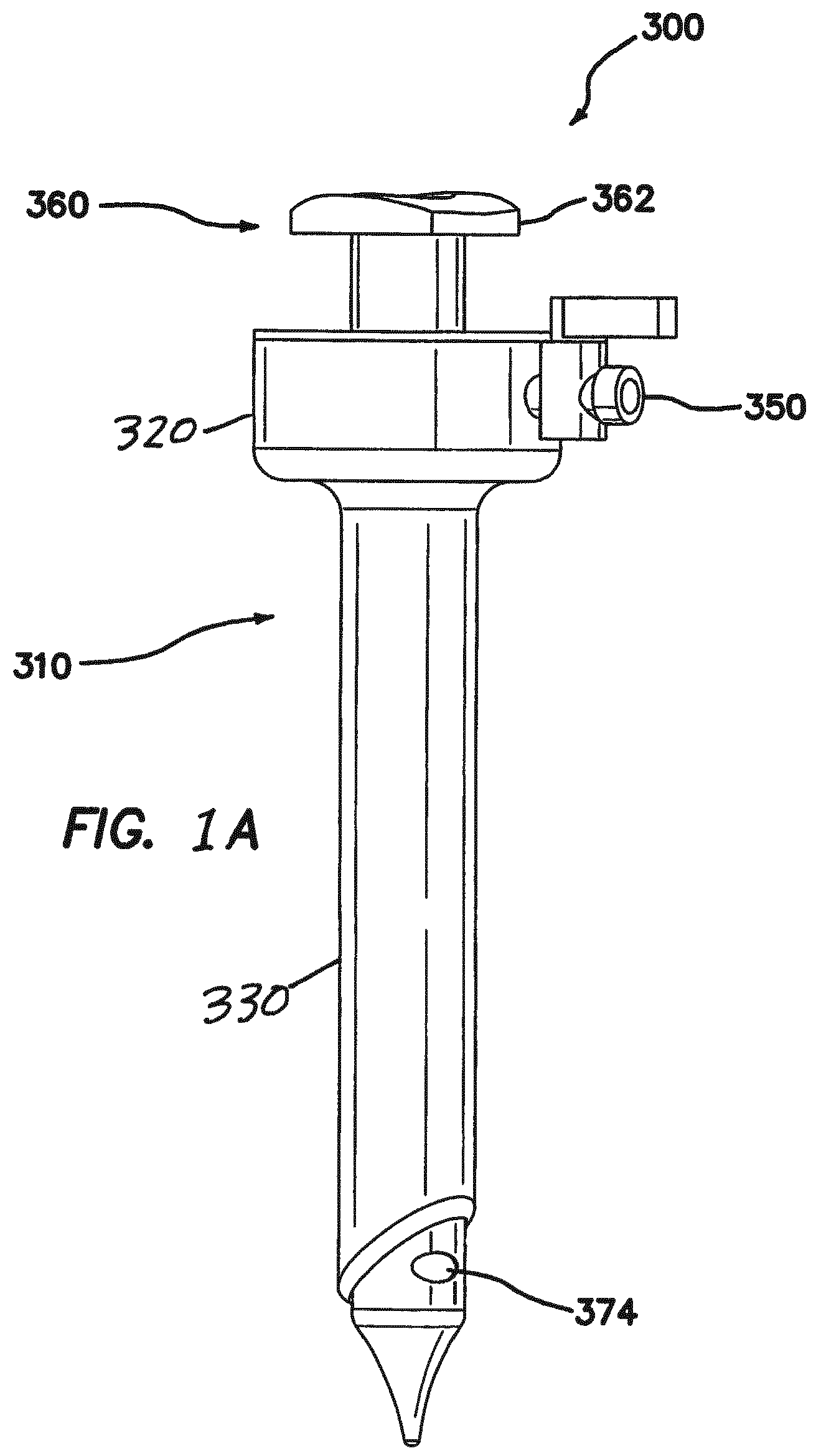
标题:
Insufflating access system
授权日:
2016-03-30
公开(公告)号:
EP2231233B1
申请日:
2009-01-26
公开(公告)日:
2016-03-30
当前申请(专利权)人:
APPLIED MEDICAL RESOURCES CORPORATION
发明人:
ALBRECHT, JEREMY, J. | JOHNSON, GARY, M. | BRUSTAD, JOHN, R.
简单同族:
AU2009206222A1 | AU2009206222B2 | AU2014210685A1 | AU2014210685B2 | CA2714889A1 | CA2714889C | EP2231233A1 | EP2231233A4 | EP2231233B1 | EP2837343A1 | EP2837343B1 | EP2837344A1 | EP2837344B1 | EP2837345A1 | EP2837345B1 | EP2851020A1 | EP2851020B1 | JP2011510709A | JP2014100585A | JP5432924B2 | JP5722419B2 | US20090192444A1 | US9265899 | WO2009094644A1
简单同族成员数量:
24
简单同族被引用专利总数:
83
诉讼案件数:
0
法律状态/事件:
授权