首页
专利数据库
产业人才
行业动态
产业政策法规
维权援助
个人中心
登录/注册
详情
文本
图像
标题:
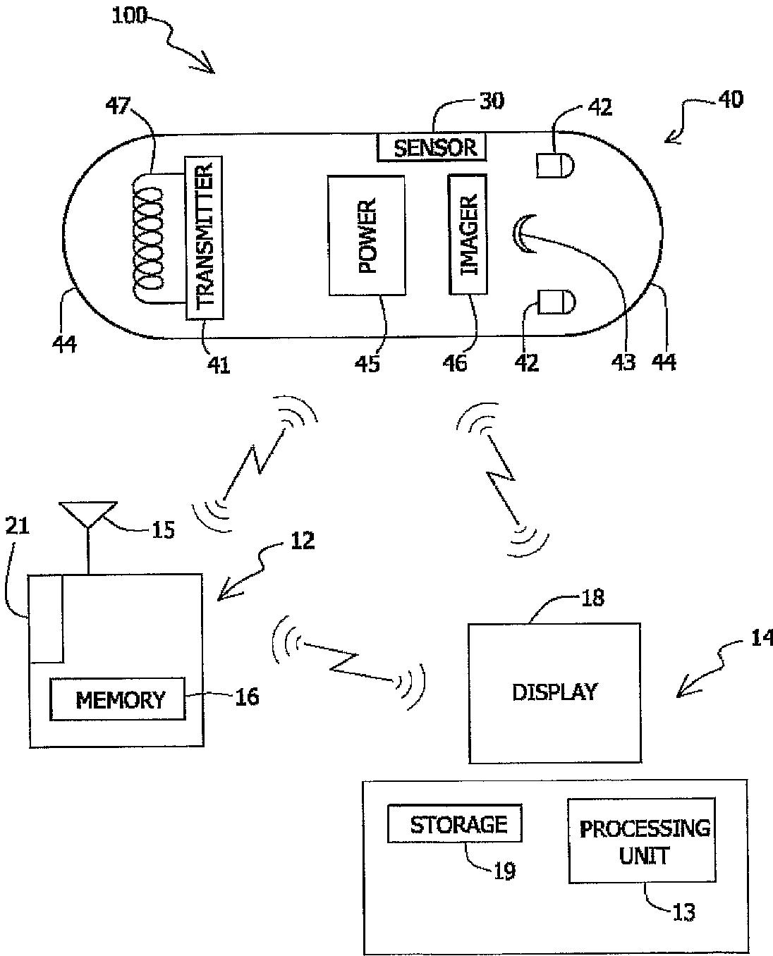
System and device for in vivo procedures
授权日:
1900-01-01
公开(公告)号:
EP1959830A4
申请日:
2006-12-03
公开(公告)日:
2010-01-06
当前申请(专利权)人:
GIVEN IMAGING LTD.
发明人:
SWAIN, PAUL, CHRISTOPHER | RABINOVITZ, ELISHA
简单同族:
EP1959830A2 | EP1959830A4 | JP2009517167A | JP2009517167A5 | US20080312502A1 | WO2007063550A2 | WO2007063550A3
简单同族成员数量:
7
简单同族被引用专利总数:
91
诉讼案件数:
0
法律状态/事件:
撤回