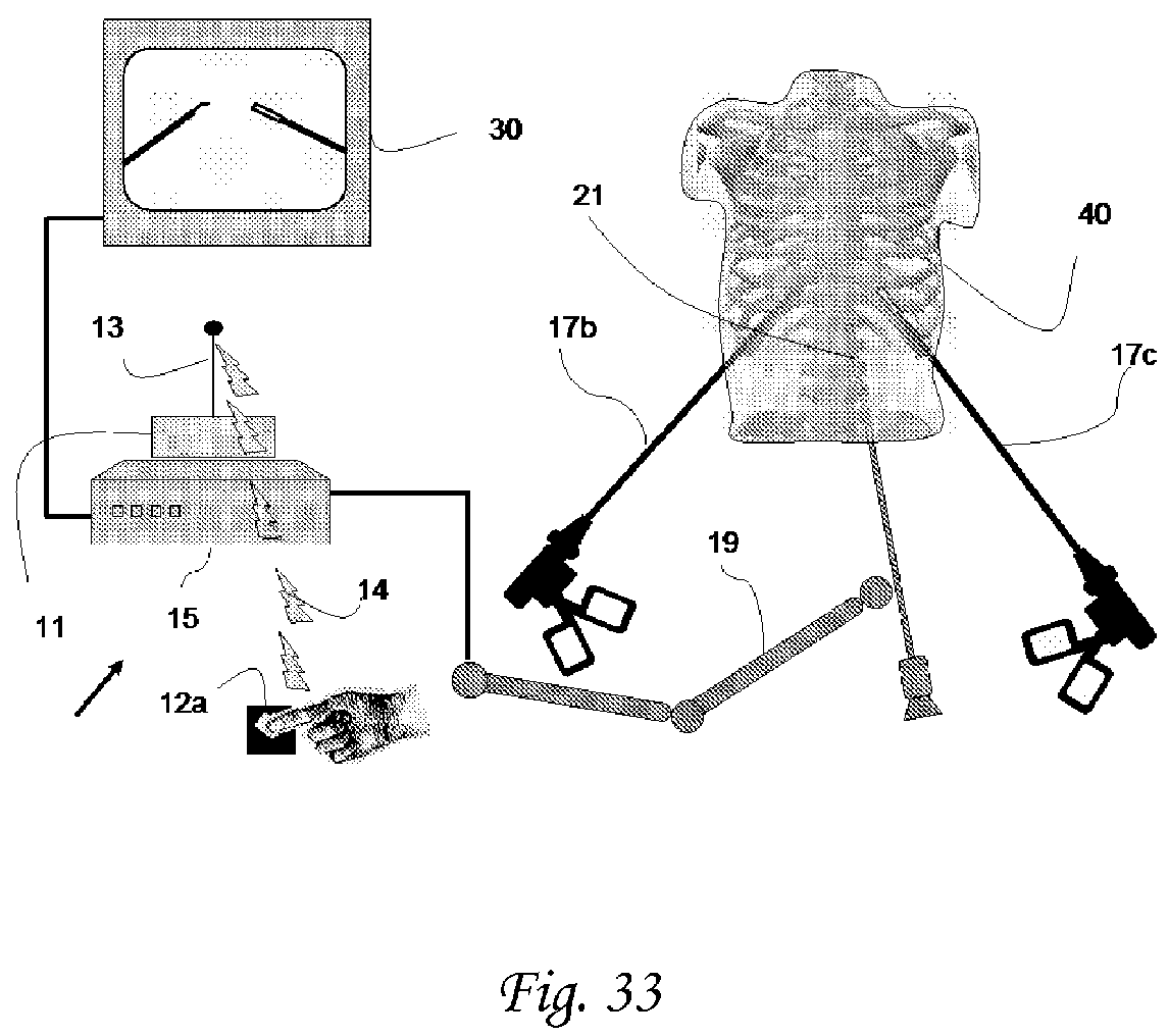
标题:
Device and methods of improving laparoscopic surgery
授权日:
1900-01-01
公开(公告)号:
EP2181645A1
申请日:
2006-04-20
公开(公告)日:
2010-05-05
当前申请(专利权)人:
M.S.T. MEDICAL SURGERY TECHNOLOGIES LTD
发明人:
SHOLEV, MORDEHAI
简单同族:
BRPI0607526A2 | CA2606476A1 | CA2621738A1 | CN101184429A | EP1876942A2 | EP1876942A4 | EP2181645A1 | EP2181645B1 | EP2992811A1 | EP2992811B1 | JP2008155031A | JP2008538314A | WO2006111966A2 | WO2006111966A3
简单同族成员数量:
14
简单同族被引用专利总数:
59
诉讼案件数:
0
法律状态/事件:
授权