首页
专利数据库
产业人才
行业动态
产业政策法规
维权援助
个人中心
登录/注册
详情
文本
图像
标题:
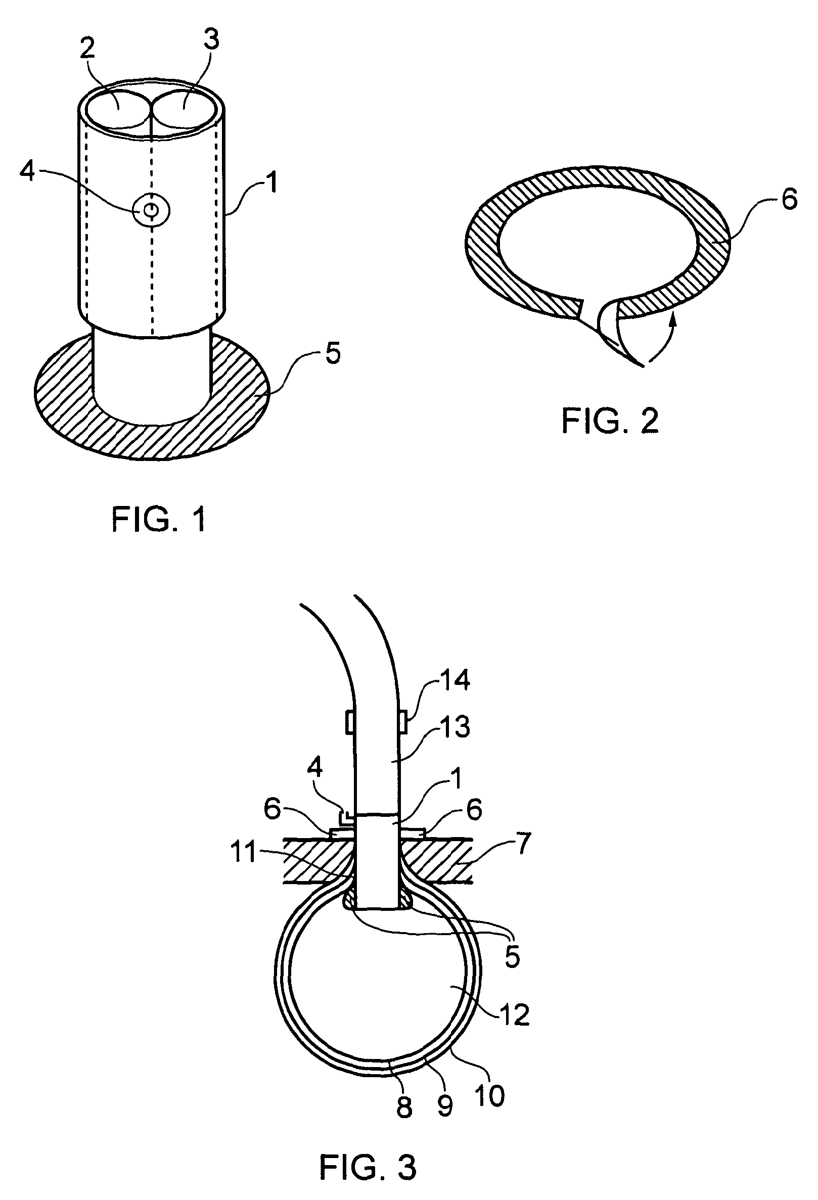
Medical device
授权日:
2016-08-03
公开(公告)号:
EP2544596B1
申请日:
2011-03-07
公开(公告)日:
2016-08-03
当前申请(专利权)人:
ASHFORD & ST. PETER'S HOSPITALS
发明人:
COLLINS, JUSTIN
简单同族:
AU2011225880A1 | AU2011225880B2 | CA2790104A1 | CA2790104C | EP2544596A2 | EP2544596B1 | ES2587990T3 | GB201003817D0 | US20140135788A1 | US9655644 | WO2011110836A2 | WO2011110836A3
简单同族成员数量:
12
简单同族被引用专利总数:
36
诉讼案件数:
0
法律状态/事件:
授权