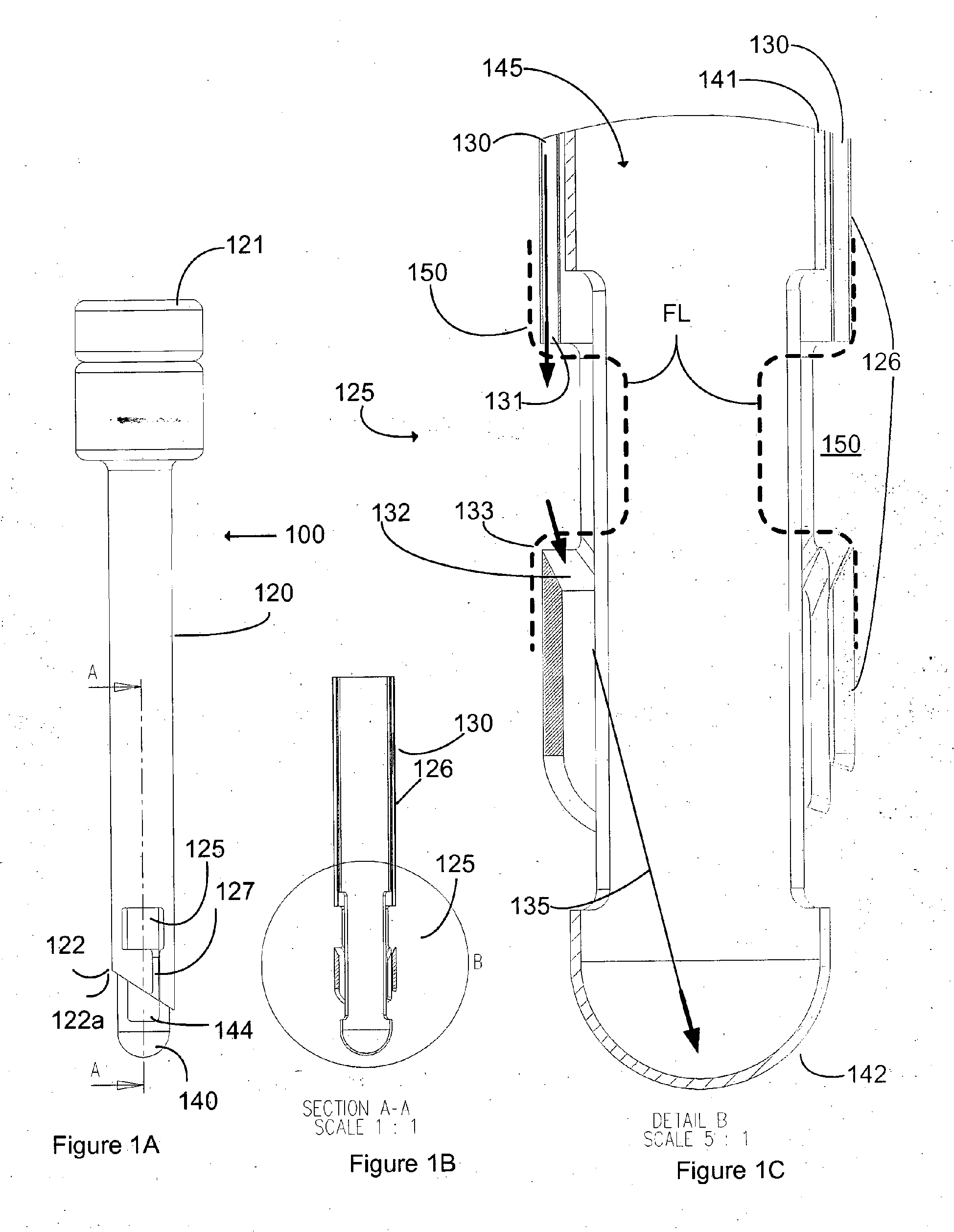
标题:
Laparoscopic surgical system
授权日:
2015-09-30
公开(公告)号:
EP2547270B1
申请日:
2011-04-13
公开(公告)日:
2015-09-30
当前申请(专利权)人:
NEOSURGICAL LIMITED
发明人:
KEATING, RONAN | RABBITTE, GERARD | RUSSELL, BARRY
简单同族:
AU2011239988A1 | AU2011239988B2 | CA2795884A1 | CA2795884C | EP2547270A1 | EP2547270B1 | GB201021479D0 | GB2486497A | GB2486497B | US20130103057A1 | US9775601 | WO2011128392A1
简单同族成员数量:
12
简单同族被引用专利总数:
82
诉讼案件数:
0
法律状态/事件:
授权 | 权利转移