标题:
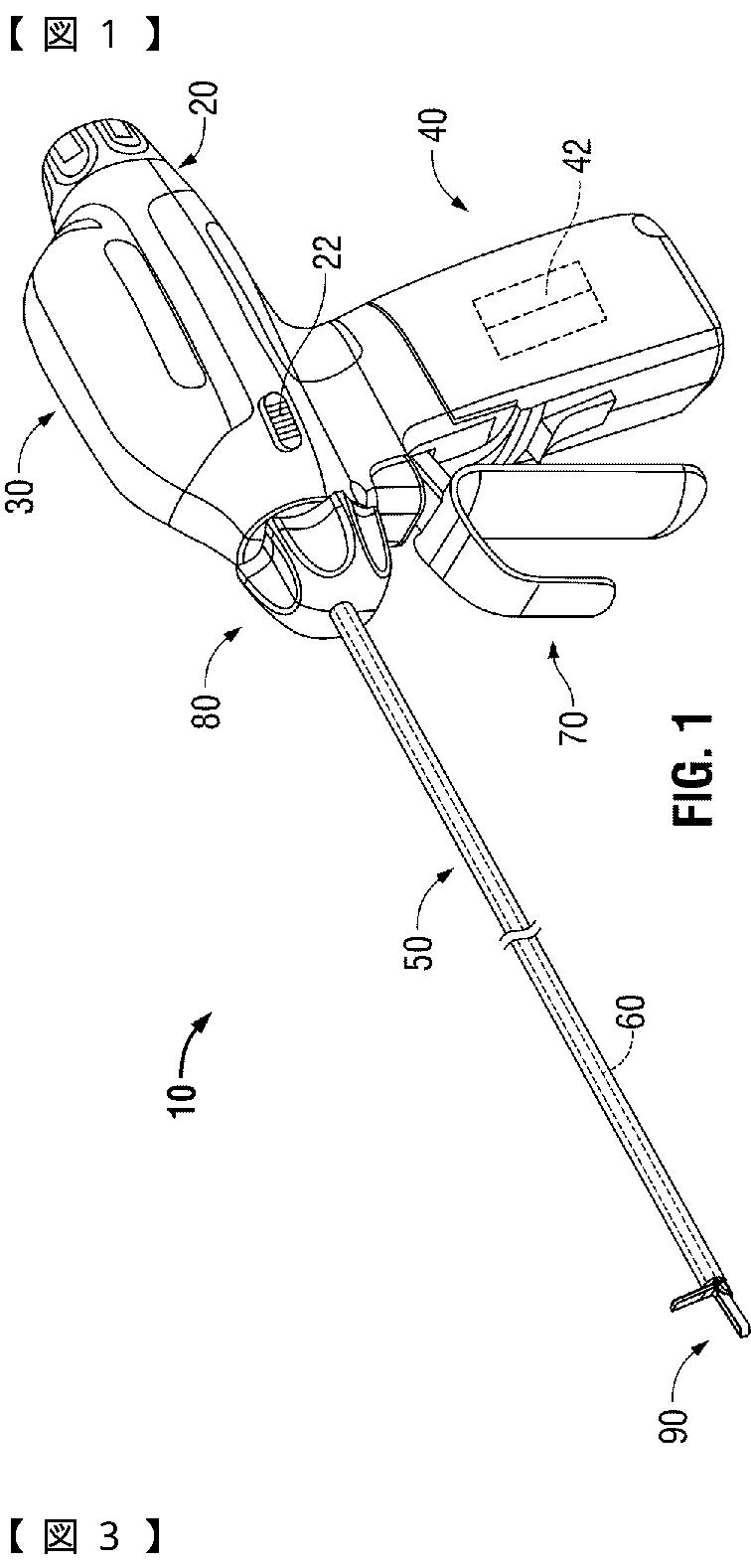
関節運動されるジョーを有している医療用超音波器具
授权日:
1900-01-01
公开(公告)号:
JP2012239901A
申请日:
2012-05-16
公开(公告)日:
2012-12-10
当前申请(专利权)人:
コヴィディエン リミテッド パートナーシップ
发明人:
アンドレイ バラニョフ | ジョージー マルツィノフスキー | イゴリス ミスチェンコ | アレクセイ ルイン | ウラディミル ヴァシニョフ
简单同族:
AU2012202874A1 | AU2012202874B2 | CA2776755A1 | CA2776755C | EP2524660A1 | EP2524660B1 | JP2012239901A | JP2012239901A5 | JP5404849B2 | US20120296356A1 | US20130231664A1 | US8444664 | US8894674
简单同族成员数量:
13
简单同族被引用专利总数:
198
诉讼案件数:
0
法律状态/事件:
未缴年费