标题:
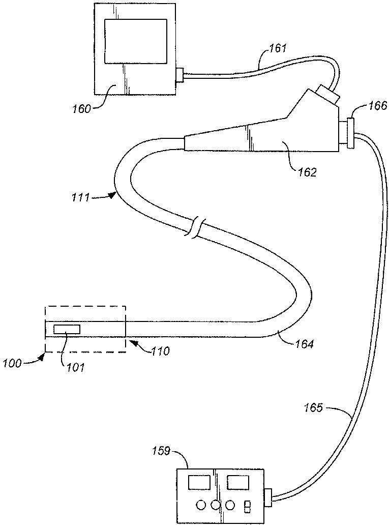
止血を達成し出血性向を伴った障害を根絶するための消化管におけるアブレーション
授权日:
1900-01-01
公开(公告)号:
JP2014208303A
申请日:
2014-07-31
公开(公告)日:
2014-11-06
当前申请(专利权)人:
コヴィディエン リミテッド パートナーシップ
发明人:
デイビッド·エス·アトリー | マイケル·ピー·ウォレス | ブレント·シー·ガーバーディング
简单同族:
AU2008275316A1 | AU2008275316B2 | BRPI0813579A2 | CA2692669A1 | CN101778605A | CN102688092A | CN102688092B | EP2170202A1 | HK1176539A | HK1176539A1 | JP2010532702A | JP2010532702A5 | JP2014208303A | JP5835895B2 | KR101513926B1 | KR101547931B1 | KR1020100058465A | KR1020140116228A | MX2010000168A | TW200916048A | US20090012513A1 | US20130226173A1 | US8439908 | WO2009009444A1
简单同族成员数量:
24
简单同族被引用专利总数:
126
诉讼案件数:
0
法律状态/事件:
驳回