首页
专利数据库
产业人才
行业动态
产业政策法规
维权援助
个人中心
登录/注册
详情
文本
图像
标题:
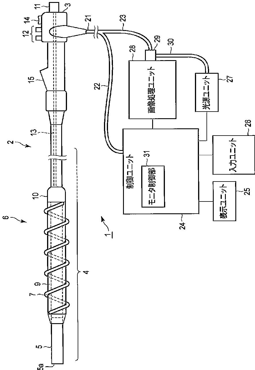
導入装置
授权日:
2014-04-02
公开(公告)号:
JP5458224B1
申请日:
2013-03-28
公开(公告)日:
2014-04-02
当前申请(专利权)人:
オリンパスメディカルシステムズ株式会社
发明人:
石崎 良輔 | 西家 武弘
简单同族:
CN103889303A | CN103889303B | EP2832284A1 | EP2832284A4 | EP2832284B1 | JP5458224B1 | JPWO2013147017A1 | US20140330079A1 | WO2013147017A1
简单同族成员数量:
9
简单同族被引用专利总数:
36
诉讼案件数:
0
法律状态/事件:
授权 | 权利转移