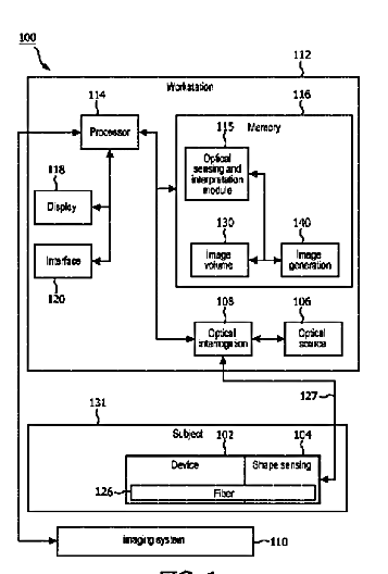
标题:
光学ファイバー形状データを用いる湾曲マルチプラナ再構成
授权日:
1900-01-01
公开(公告)号:
JP2014526927A
申请日:
2012-08-13
公开(公告)日:
2014-10-09
当前申请(专利权)人:
コーニンクレッカ フィリップス エヌ ヴェ
发明人:
マンツケ ロベルト | チャン レイモンド | ファン デル マルク マルティヌス ベルナルドス | ヘットホーフト ヘルト ウィム | ラマチャンドラン バラト | ヴェルナード ローレント
简单同族:
BR112014003281A2 | CN103781418A | CN103781418B | EP2744407A1 | EP2744407B1 | JP2014526927A | JP2014526927A5 | JP6114748B2 | RU2014110007A | US10575757 | US20140155737A1 | WO2013024418A1
简单同族成员数量:
12
简单同族被引用专利总数:
33
诉讼案件数:
0
法律状态/事件:
授权