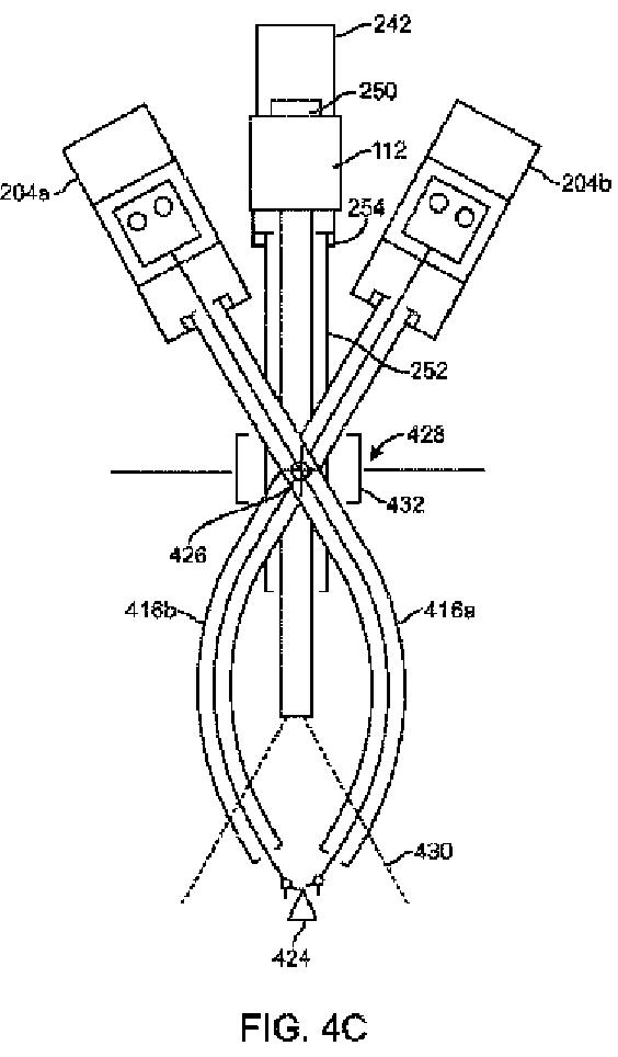
标题:
湾曲カニューレおよびロボットマニピュレーター
授权日:
1900-01-01
公开(公告)号:
JP2013505106A
申请日:
2010-08-27
公开(公告)日:
2013-02-14
当前申请(专利权)人:
インテュイティブ サージカル オペレーションズ, インコーポレイテッド
发明人:
プリスコ, ジュゼッペ マリア | オウ, サミュエル クォック ワイ | ガービ, クレイグ アール. | ロジャース, セオドア ダブリュー. | ステガー, ジョン ライアン | スウィンハート, チャールズ イー.
简单同族:
BR112012006641B1 | CN102510740A | CN102510740B | EP2480145A1 | EP2480145B1 | JP2013505106A | KR1020120089852A | US20110071541A1 | US20140005687A1 | US20140018823A1 | US20160128791A1 | US20180206927A1 | US9254178 | US9931173 | WO2011037718A1
简单同族成员数量:
15
简单同族被引用专利总数:
89
诉讼案件数:
0
法律状态/事件:
驳回