标题:
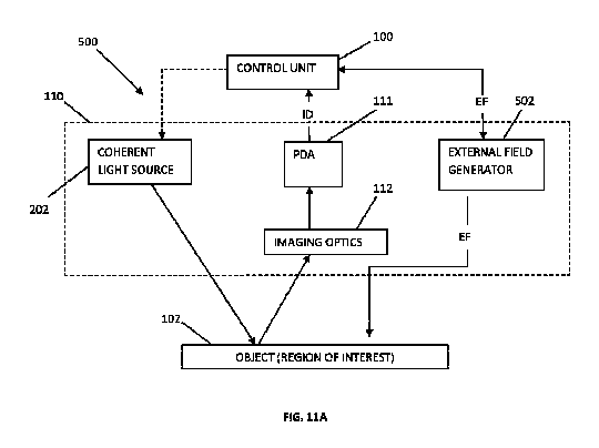
個体の生物学的または生化学的パラメータを非侵襲的に監視する方法及びシステム
授权日:
1900-01-01
公开(公告)号:
JP2017509373A
申请日:
2015-01-28
公开(公告)日:
2017-04-06
当前申请(专利权)人:
バー‐イラン、ユニバーシティー | ウニベルシタット デ ヴァレンシア
发明人:
ザレヴスキー,ジーヴ | ガルシア,ハヴィエル | ベイダーマン,イェヴゲニー | マルガリット,イスラエル | オザナ,ニシム ニサン | アーベル,ナダヴ | ミコ,ヴィセンテ | サンス サバテール,マルティン | ビシツ,ヤエル | シャームーン,アサフ
简单同族:
AU2015212330A1 | AU2015212330B2 | CA2937109A1 | CN106061373A | CN106061373B | EP2667778A2 | EP3099223A1 | EP3099223A4 | HK1228716A | IL246815D0 | JP2017509373A | JP6585064B2 | KR1020160114711A | US10390729 | US20130144137A1 | US20140148658A1 | US20180110442A1 | US20190374132A1 | US9636041 | US9668672 | WO2012101644A2 | WO2012101644A3 | WO2015114627A1
简单同族成员数量:
23
简单同族被引用专利总数:
98
诉讼案件数:
0
法律状态/事件:
授权