首页
专利数据库
产业人才
行业动态
产业政策法规
维权援助
个人中心
登录/注册
详情
文本
图像
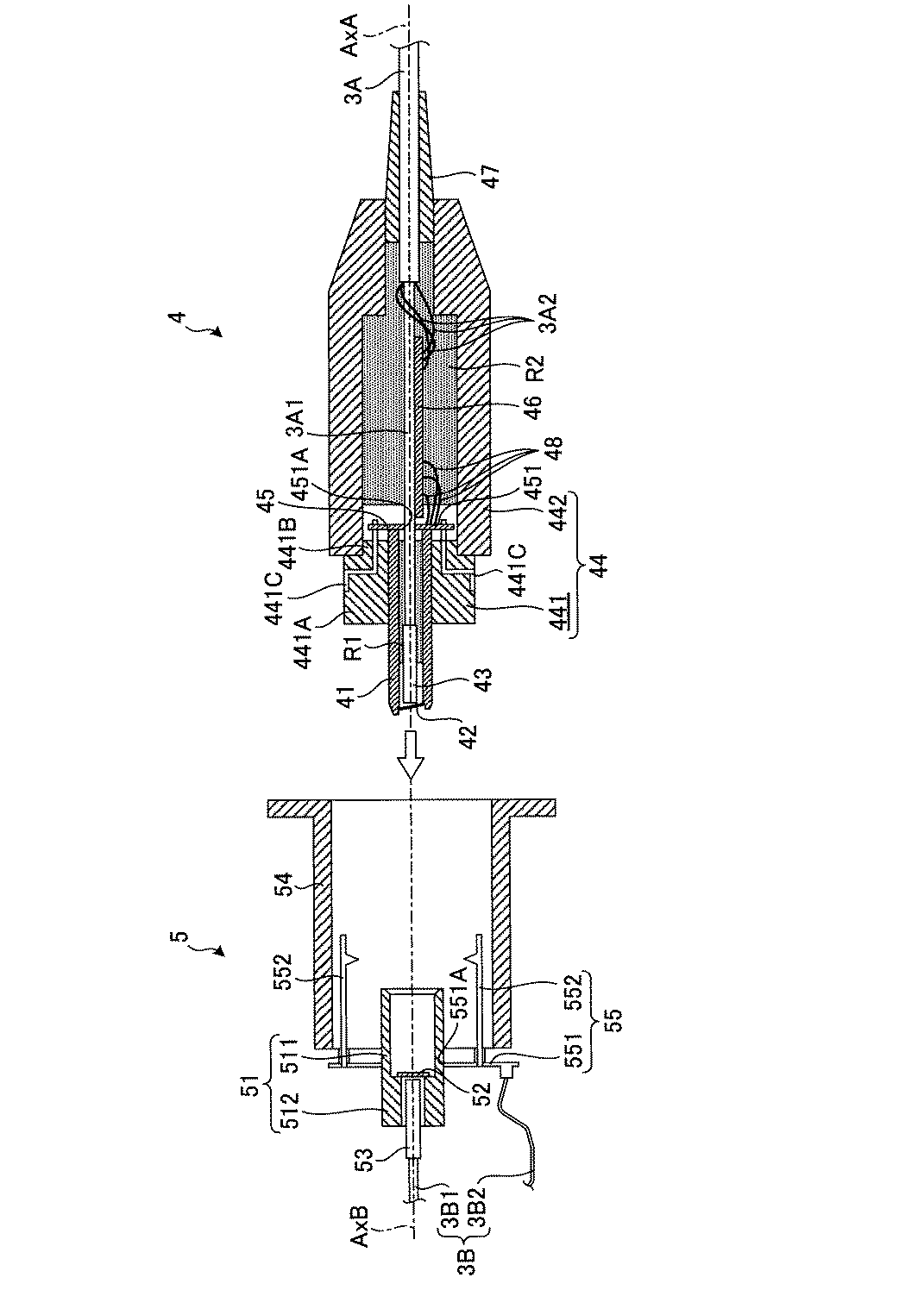
标题:
医療機器
授权日:
1900-01-01
公开(公告)号:
JP2019171158A
申请日:
2019-07-10
公开(公告)日:
2019-10-10
当前申请(专利权)人:
ソニー·オリンパスメディカルソリューションズ株式会社 | ソニー株式会社
发明人:
萩原 雅博 | 戸松 景 | 坂本 研治
简单同族:
JP2019171158A
简单同族成员数量:
1
简单同族被引用专利总数:
0
诉讼案件数:
0
法律状态/事件:
公开