首页
专利数据库
产业人才
行业动态
产业政策法规
维权援助
个人中心
登录/注册
详情
文本
图像
标题:
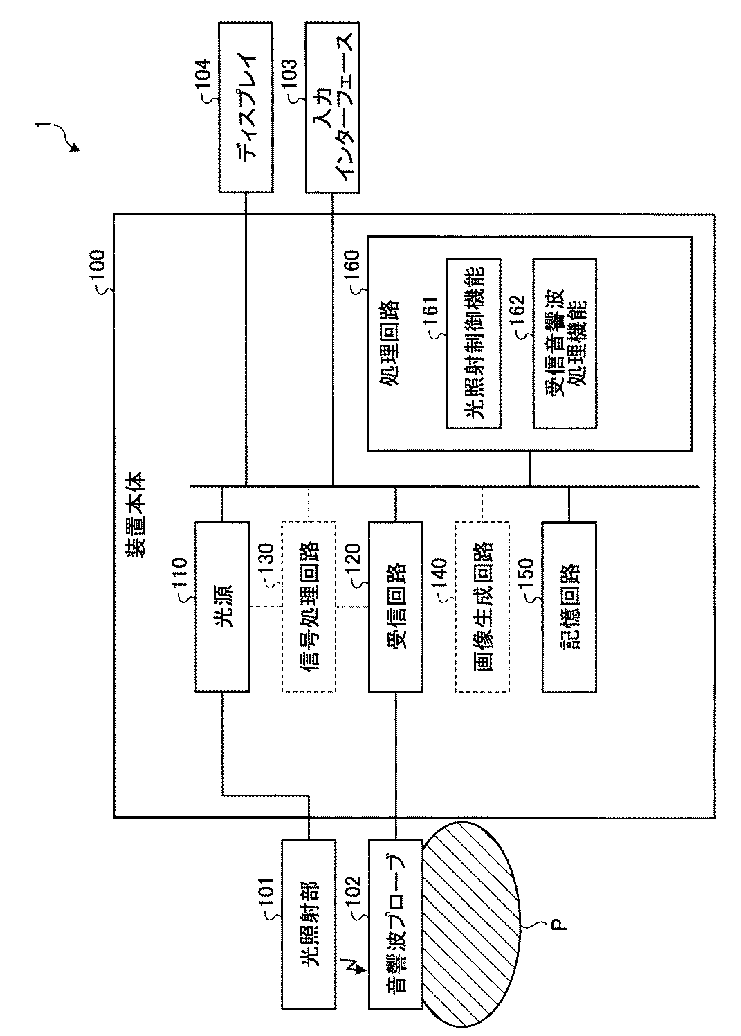
光音響診断装置及び光音響内視鏡
授权日:
1900-01-01
公开(公告)号:
JP2019216951A
申请日:
2018-06-19
公开(公告)日:
2019-12-26
当前申请(专利权)人:
キヤノンメディカルシステムズ株式会社
发明人:
藤田 文理 | 杉山 敦子 | 岡村 陽子 | 丹羽 慎太朗
简单同族:
JP2019216951A
简单同族成员数量:
1
简单同族被引用专利总数:
0
诉讼案件数:
0
法律状态/事件:
公开