首页
专利数据库
产业人才
行业动态
产业政策法规
维权援助
个人中心
登录/注册
详情
文本
图像
标题:
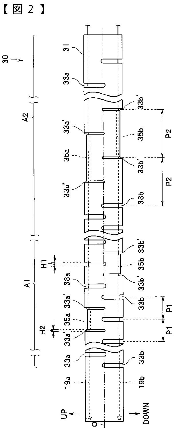
内視鏡用湾曲管
授权日:
2014-07-02
公开(公告)号:
JP5537748B1
申请日:
2013-07-01
公开(公告)日:
2014-07-02
当前申请(专利权)人:
オリンパスメディカルシステムズ株式会社
发明人:
佐藤 栄二郎 | コンストラム グレゴリー
简单同族:
CN104023616A | CN104023616B | EP2777476A1 | EP2777476A4 | EP2777476B1 | JP5537748B1 | JPWO2014030437A1 | US20140053940A1 | US8967204 | WO2014030437A1
简单同族成员数量:
10
简单同族被引用专利总数:
35
诉讼案件数:
0
法律状态/事件:
授权 | 权利转移