首页
专利数据库
产业人才
行业动态
产业政策法规
维权援助
个人中心
登录/注册
详情
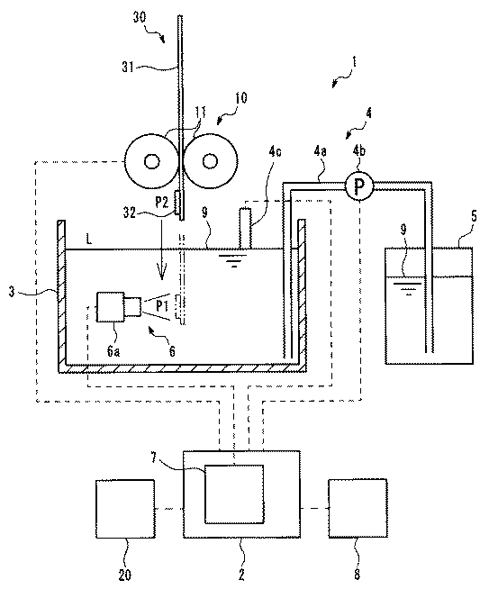
文本
图像
标题:
濃度測定装置、内視鏡リプロセッサおよび濃度測定用試験紙
授权日:
1900-01-01
公开(公告)号:
JP2016202831A
申请日:
2015-04-28
公开(公告)日:
2016-12-08
当前申请(专利权)人:
オリンパス株式会社
发明人:
小杉 愛子
简单同族:
JP2016202831A
简单同族成员数量:
1
简单同族被引用专利总数:
0
诉讼案件数:
0
法律状态/事件:
撤回