标题:
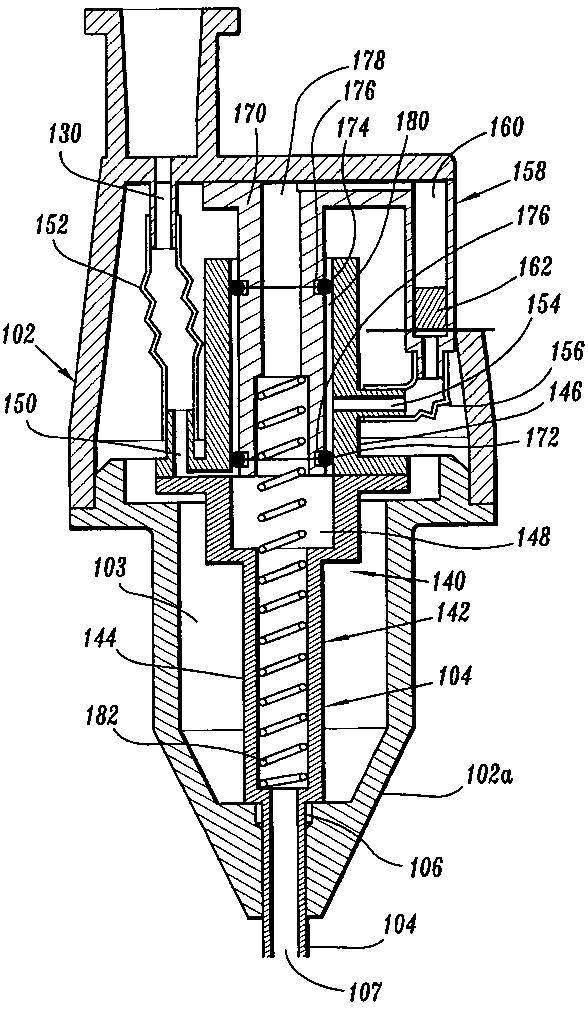
気腹術ニードル
授权日:
1900-01-01
公开(公告)号:
JP2011056270A
申请日:
2010-10-08
公开(公告)日:
2011-03-24
当前申请(专利权)人:
タイコ ヘルスケア グループ エルピー
发明人:
ロバート シー. スミス
简单同族:
AU2005200394A1 | AU2005200394B2 | CA2495500A1 | CA2495500C | DE602005021263D1 | EP1561428A2 | EP1561428A3 | EP1561428B1 | ES2345496T3 | JP2005218869A | JP2011056270A | JP4695890B2 | US20050171465A1 | US20060282047A1 | US20100056987A1 | US20110118658A1 | US7618399 | US7887514 | US8382716
简单同族成员数量:
19
简单同族被引用专利总数:
37
诉讼案件数:
0
法律状态/事件:
撤回