首页
专利数据库
产业人才
行业动态
产业政策法规
维权援助
个人中心
登录/注册
详情
文本
图像
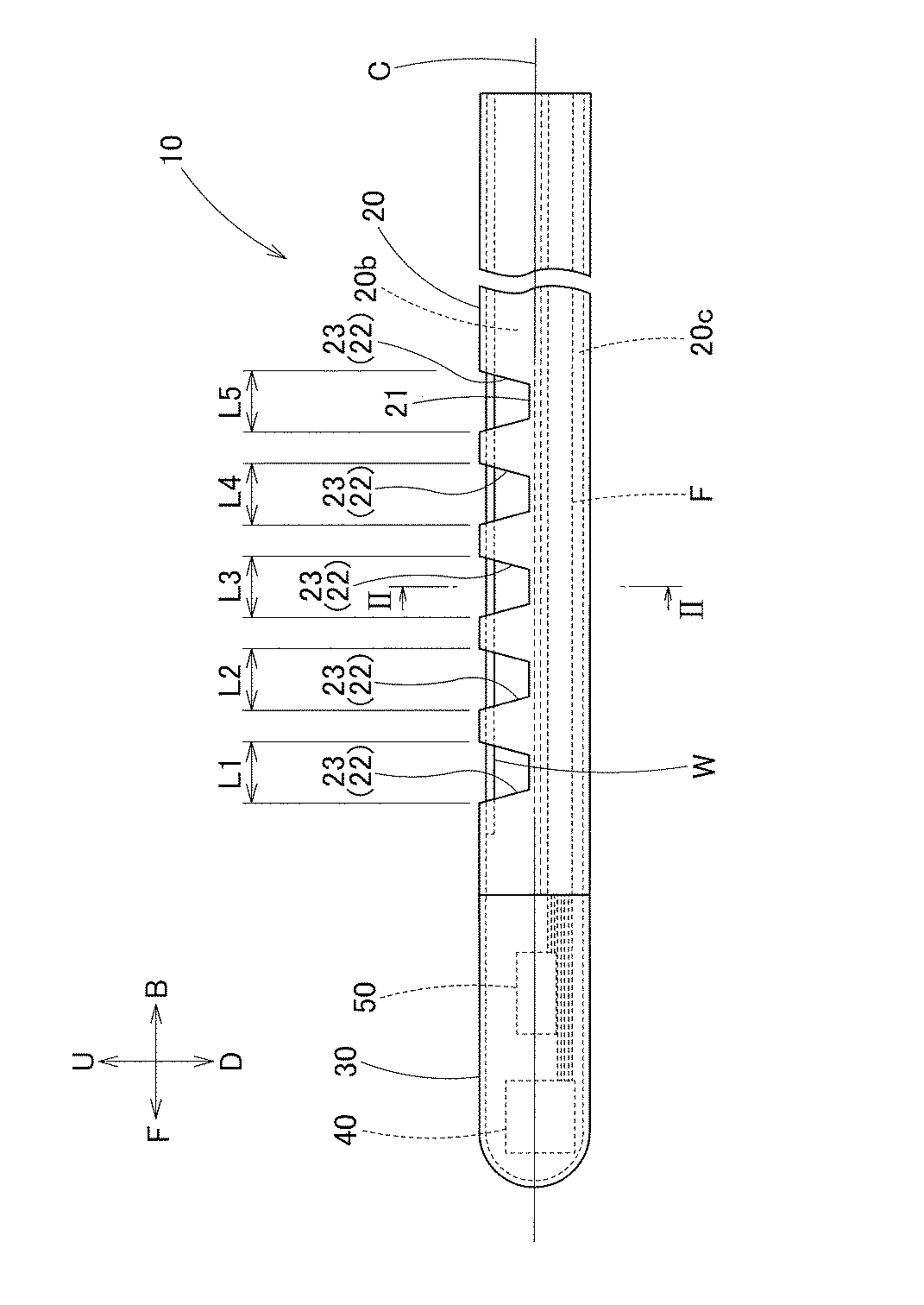
标题:
内視鏡用湾曲管
授权日:
1900-01-01
公开(公告)号:
JP2017205436A
申请日:
2016-05-20
公开(公告)日:
2017-11-24
当前申请(专利权)人:
有限会社近藤研究所
发明人:
近藤 健人
简单同族:
JP2017205436A
简单同族成员数量:
1
简单同族被引用专利总数:
0
诉讼案件数:
0
法律状态/事件:
公开