首页
专利数据库
产业人才
行业动态
产业政策法规
维权援助
个人中心
登录/注册
详情
文本
图像
标题:
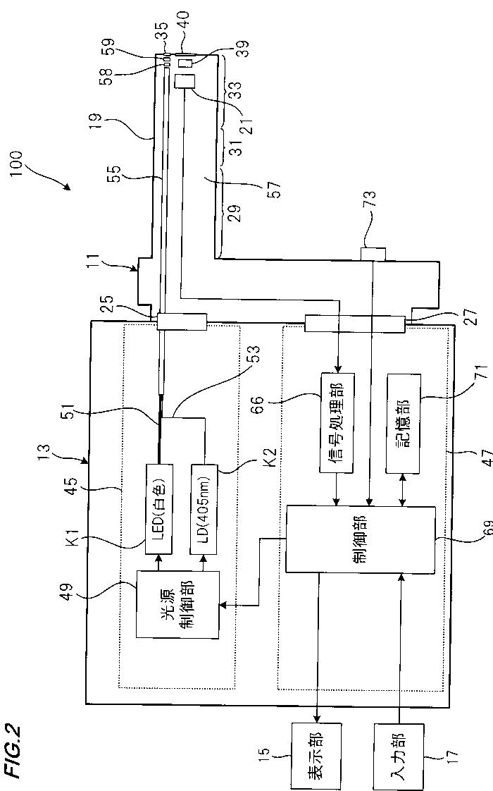
内視鏡装置
授权日:
1900-01-01
公开(公告)号:
JP2013042854A
申请日:
2011-08-23
公开(公告)日:
2013-03-04
当前申请(专利权)人:
富士フイルム株式会社
发明人:
水由 明 | 斎藤 牧 | 飯田 孝之
简单同族:
EP2561798A1 | JP2013042854A | JP5709691B2 | US20130053642A1 | US8876706
简单同族成员数量:
5
简单同族被引用专利总数:
32
诉讼案件数:
0
法律状态/事件:
授权