首页
专利数据库
产业人才
行业动态
产业政策法规
维权援助
个人中心
登录/注册
详情
文本
图像
标题:
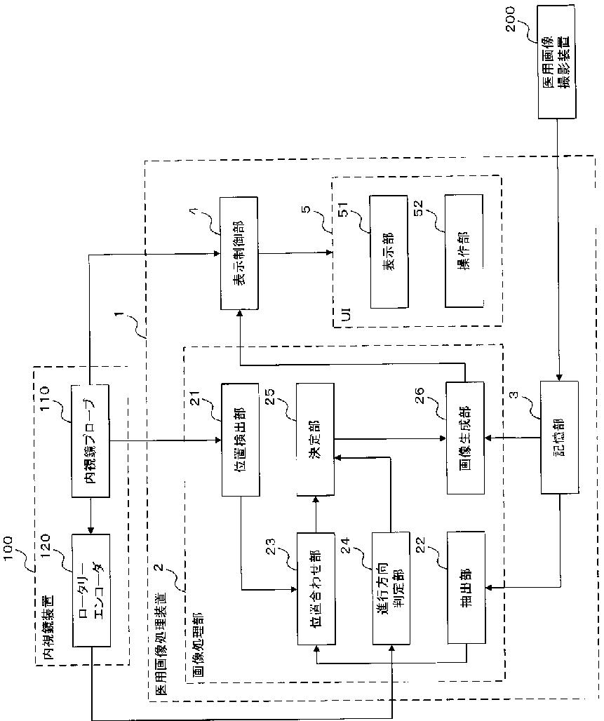
医用画像処理装置、及び医用画像処理プログラム
授权日:
2014-01-17
公开(公告)号:
JP5457841B2
申请日:
2010-01-07
公开(公告)日:
2014-04-02
当前申请(专利权)人:
株式会社東芝 | 東芝メディカルシステムズ株式会社
发明人:
青柳 康太 | 山形 仁
简单同族:
CN102119848A | CN102119848B | JP2011139797A | JP5457841B2 | US20110166418A1 | US9078568
简单同族成员数量:
6
简单同族被引用专利总数:
30
诉讼案件数:
0
法律状态/事件:
未缴年费