首页
专利数据库
产业人才
行业动态
产业政策法规
维权援助
个人中心
登录/注册
详情
文本
图像
标题:
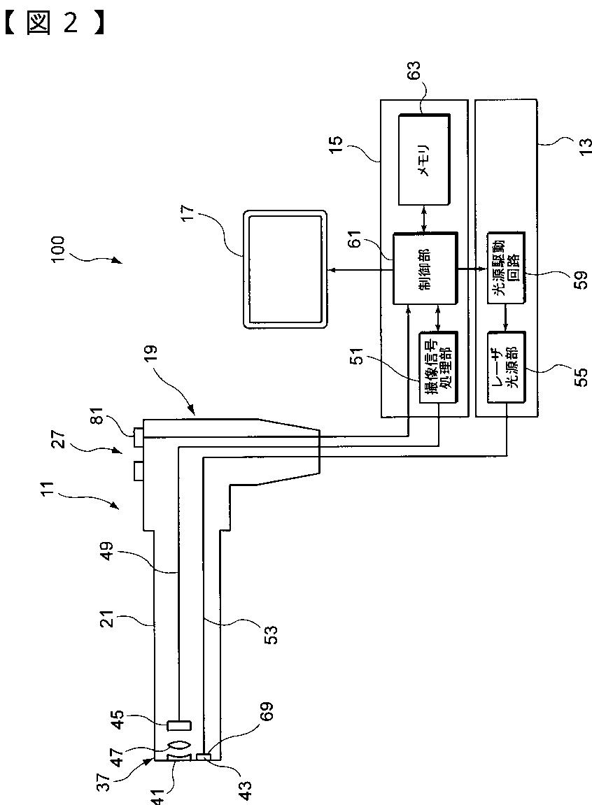
内視鏡システム
授权日:
2013-11-22
公开(公告)号:
JP5417268B2
申请日:
2010-06-28
公开(公告)日:
2014-02-12
当前申请(专利权)人:
富士フイルム株式会社
发明人:
黒田 修 | 飯田 孝之
简单同族:
CN102293623A | CN102293623B | EP2399508A1 | JP2012005785A | JP5417268B2 | US20110319712A1 | US8517929
简单同族成员数量:
7
简单同族被引用专利总数:
42
诉讼案件数:
0
法律状态/事件:
未缴年费