首页
专利数据库
产业人才
行业动态
产业政策法规
维权援助
个人中心
登录/注册
详情
文本
图像
标题:
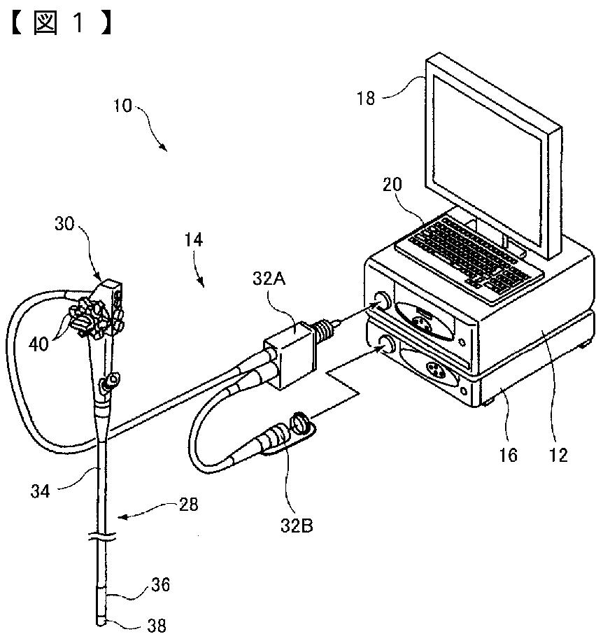
内視鏡診断装置
授权日:
2013-06-28
公开(公告)号:
JP5303015B2
申请日:
2011-08-29
公开(公告)日:
2013-10-02
当前申请(专利权)人:
富士フイルム株式会社
发明人:
山本 拓明
简单同族:
EP2564761A1 | JP2013046688A | JP5303015B2 | US20130053646A1 | US8915844
简单同族成员数量:
5
简单同族被引用专利总数:
40
诉讼案件数:
0
法律状态/事件:
授权