首页
专利数据库
产业人才
行业动态
产业政策法规
维权援助
个人中心
登录/注册
详情
文本
图像
标题:
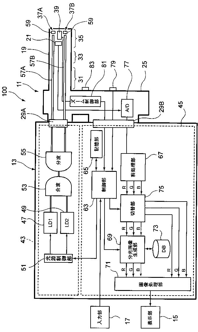
内視鏡装置
授权日:
1900-01-01
公开(公告)号:
JP2011206226A
申请日:
2010-03-29
公开(公告)日:
2011-10-20
当前申请(专利权)人:
富士フイルム株式会社
发明人:
小澤 聡 | 飯田 孝之 | 峯苫 靖浩 | 江利川 昭彦
简单同族:
CN102204809A | CN102204809B | EP2371267A1 | JP2011206226A | JP5606120B2 | US20110237894A1 | US9232883
简单同族成员数量:
7
简单同族被引用专利总数:
34
诉讼案件数:
0
法律状态/事件:
授权