首页
专利数据库
产业人才
行业动态
产业政策法规
维权援助
个人中心
登录/注册
详情
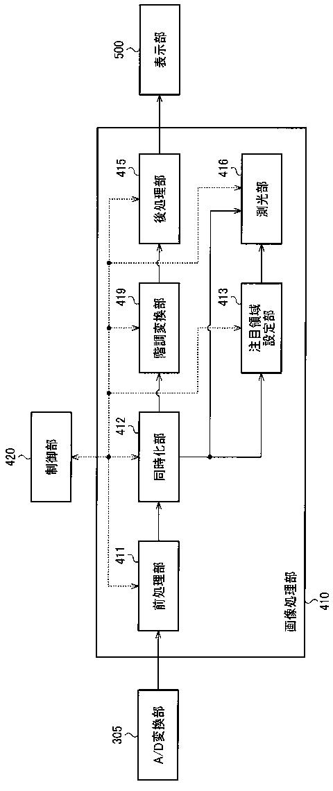
文本
图像
标题:
内視鏡装置
授权日:
1900-01-01
公开(公告)号:
JP2012245161A
申请日:
2011-05-27
公开(公告)日:
2012-12-13
当前申请(专利权)人:
オリンパス株式会社
发明人:
森田 恵仁 | 温 成剛 | 高橋 順平 | 栗山 直也 | 樋口 圭司
简单同族:
CN103561632A | CN103561632B | CN107252299A | CN107252299B | EP2716207A1 | EP2716207A4 | JP2012245161A | JP2012245161A5 | JP5865606B2 | US20140081083A1 | US20180008134A1 | US9801531 | WO2012165204A1
简单同族成员数量:
13
简单同族被引用专利总数:
40
诉讼案件数:
0
法律状态/事件:
授权 | 权利转移