标题:
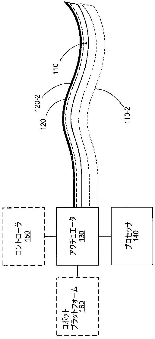
埋め込み型形状感知機能を有する操縦可能な可撓性針
授权日:
1900-01-01
公开(公告)号:
JP2015505507A
申请日:
2013-01-28
公开(公告)日:
2015-02-23
当前申请(专利权)人:
インテュイティブ サージカル オペレーションズ, インコーポレイテッド
发明人:
ドゥインダム,ヴィンセント | プリスコ,ギュセッペ,マリア | ラーキン,デイヴィッド,キュー | ディアミオ,サイモン | パネスク,ドリン
简单同族:
EP2809249A1 | EP2809249A4 | EP2809249B1 | EP3488803A1 | JP2015505507A | JP2015505507A5 | JP2017225866A | JP6290099B2 | US10638953 | US20130204124A1 | US20170014194A1 | US9636040 | WO2013116140A1
简单同族成员数量:
13
简单同族被引用专利总数:
77
诉讼案件数:
0
法律状态/事件:
授权