首页
专利数据库
产业人才
行业动态
产业政策法规
维权援助
个人中心
登录/注册
详情
文本
图像
标题:
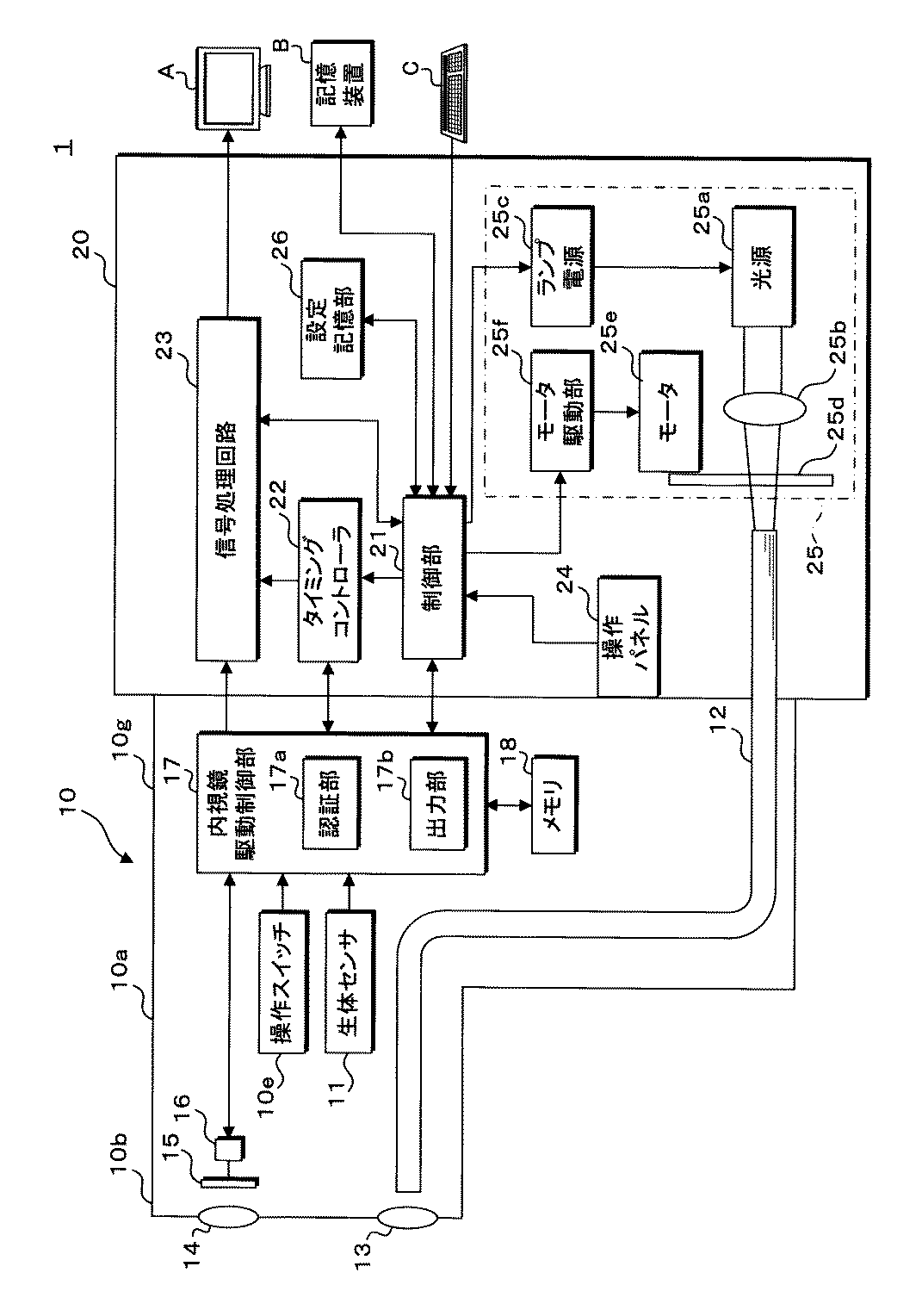
電子内視鏡、電子内視鏡装置及び術者認証方法
授权日:
1900-01-01
公开(公告)号:
JP2019111221A
申请日:
2017-12-25
公开(公告)日:
2019-07-11
当前申请(专利权)人:
HOYA株式会社
发明人:
安藤 元昭
简单同族:
JP2019111221A
简单同族成员数量:
1
简单同族被引用专利总数:
0
诉讼案件数:
0
法律状态/事件:
公开