首页
专利数据库
产业人才
行业动态
产业政策法规
维权援助
个人中心
登录/注册
详情
文本
图像
标题:
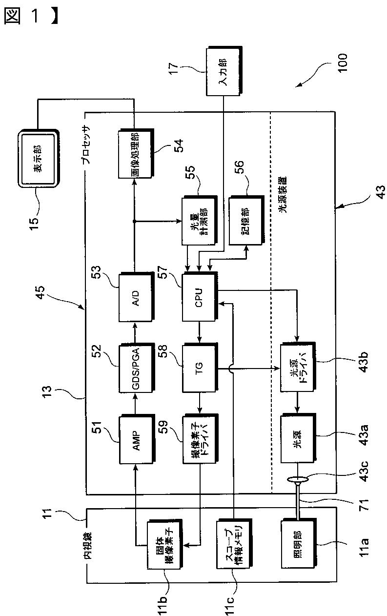
内視鏡システム
授权日:
2014-02-21
公开(公告)号:
JP5481294B2
申请日:
2010-07-15
公开(公告)日:
2014-04-23
当前申请(专利权)人:
富士フイルム株式会社
发明人:
瀬戸 康宏 | 村上 浩史
简单同族:
CN102334972A | CN102334972B | EP2407087A2 | EP2407087A3 | EP2407087B1 | JP2012019982A | JP5481294B2 | US20120016200A1 | US8550990
简单同族成员数量:
9
简单同族被引用专利总数:
51
诉讼案件数:
0
法律状态/事件:
授权