首页
专利数据库
产业人才
行业动态
产业政策法规
维权援助
个人中心
登录/注册
详情
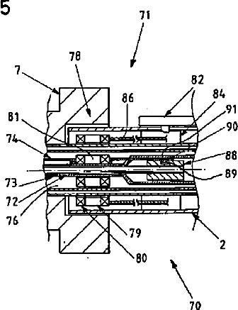
文本
图像
标题:
調整可能な視野方向を有するビデオ内視鏡
授权日:
1900-01-01
公开(公告)号:
JP2015512667A
申请日:
2013-02-13
公开(公告)日:
2015-04-30
当前申请(专利权)人:
オリンパス ビンテル ウント イーベーエー ゲーエムベーハー
发明人:
クローン マルティン | ローズ イェンス
简单同族:
CN104080389A | CN104080389B | DE102012202552B3 | JP2015512667A | JP2015512667A5 | JP5993961B2 | US20140357952A1 | WO2013124044A1
简单同族成员数量:
8
简单同族被引用专利总数:
30
诉讼案件数:
0
法律状态/事件:
未缴年费