首页
专利数据库
产业人才
行业动态
产业政策法规
维权援助
个人中心
登录/注册
详情
文本
图像
标题:
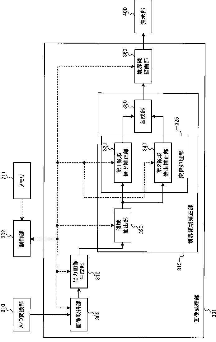
内視鏡用画像処理装置、内視鏡装置及び画像処理方法
授权日:
1900-01-01
公开(公告)号:
JP2013066646A
申请日:
2011-09-26
公开(公告)日:
2013-04-18
当前申请(专利权)人:
オリンパス株式会社
发明人:
佐々木 寛 | 本田 一樹
简单同族:
CN103841879A | CN103841879B | EP2762059A1 | EP2762059A4 | EP2762059B1 | JP2013066646A | JP2013066646A5 | JP5830328B2 | US20140204187A1 | US9554097 | WO2013047215A1
简单同族成员数量:
11
简单同族被引用专利总数:
50
诉讼案件数:
0
法律状态/事件:
授权 | 权利转移