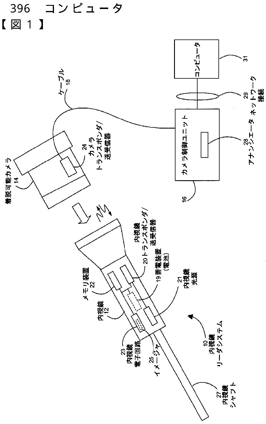
标题:
内視鏡ビデオシステム
授权日:
2014-01-31
公开(公告)号:
JP5465219B2
申请日:
2011-09-09
公开(公告)日:
2014-04-09
当前申请(专利权)人:
カール·ストーツ·イメージング·インコーポレイテッド
发明人:
マーク·アール·アムリング | ハンス·デイヴィッド·ホーグ | デイヴィッド·シャトネヴァー | チャールズ·イー·アンクナー
简单同族:
CA2749449A1 | CA2749449C | EP2428155A1 | EP2428155B1 | JP2012055697A | JP5465219B2 | US20110193948A1 | US20140210977A1 | US8723936 | US9271630
简单同族成员数量:
10
简单同族被引用专利总数:
109
诉讼案件数:
0
法律状态/事件:
授权