首页
专利数据库
产业人才
行业动态
产业政策法规
维权援助
个人中心
登录/注册
详情
文本
图像
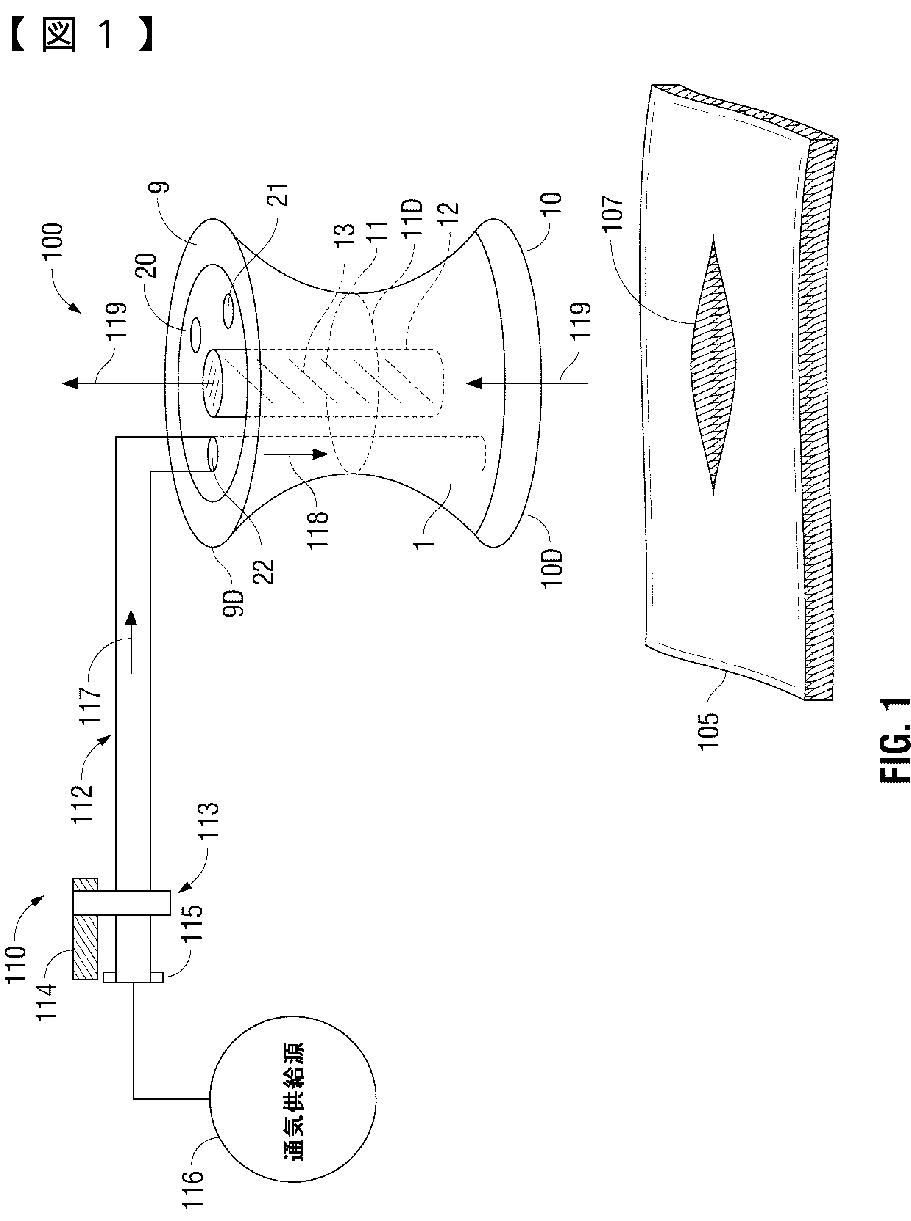
标题:
一体的なフィルタ/排気口を有する単一ポートデバイス
授权日:
2015-03-20
公开(公告)号:
JP5714254B2
申请日:
2010-07-30
公开(公告)日:
2015-05-07
当前申请(专利权)人:
コヴィディエン リミテッド パートナーシップ
发明人:
グレゴリー ジー. オコニーウスキー
简单同族:
AU2010206077A1 | AU2010206077B2 | CA2711350A1 | EP2279704A1 | EP2279704B1 | ES2630829T3 | JP2011031046A | JP5714254B2 | US20110028891A1 | US20140051933A1 | US8585632 | US9451877
简单同族成员数量:
12
简单同族被引用专利总数:
100
诉讼案件数:
0
法律状态/事件:
未缴年费