首页
专利数据库
产业人才
行业动态
产业政策法规
维权援助
个人中心
登录/注册
详情
文本
图像
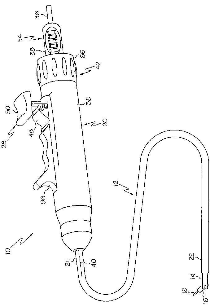
标题:
ニードルナイフを有する医療機器
授权日:
1900-01-01
公开(公告)号:
JP2007307371A
申请日:
2007-05-15
公开(公告)日:
2007-11-29
当前申请(专利权)人:
エシコン·エンド-サージェリィ·インコーポレイテッド
发明人:
ラドルフ·エイチ·ノビス | イファン·ルー
简单同族:
AU2007202092A1 | AU2007202092B2 | CA2588438A1 | CA2588438C | EP1857061A1 | EP1857061B1 | JP2007307371A | US20070270895A1 | US7959642
简单同族成员数量:
9
简单同族被引用专利总数:
110
诉讼案件数:
0
法律状态/事件:
驳回