首页
专利数据库
产业人才
行业动态
产业政策法规
维权援助
个人中心
登录/注册
详情
文本
图像
标题:
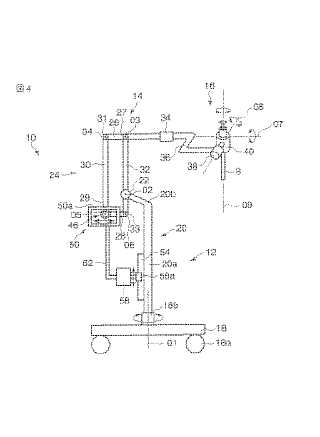
医療用保持装置
授权日:
1900-01-01
公开(公告)号:
JP2009273714A
申请日:
2008-05-15
公开(公告)日:
2009-11-26
当前申请(专利权)人:
オリンパスメディカルシステムズ株式会社
发明人:
安永 浩二 | 原野 健二 | 金澤 憲昭
简单同族:
AT526896T | CN101579260A | CN101579260B | EP2119411A1 | EP2119411B1 | JP2009273714A | JP5350675B2 | US20090283647A1 | US8038108
简单同族成员数量:
9
简单同族被引用专利总数:
69
诉讼案件数:
0
法律状态/事件:
授权 | 权利转移