标题:
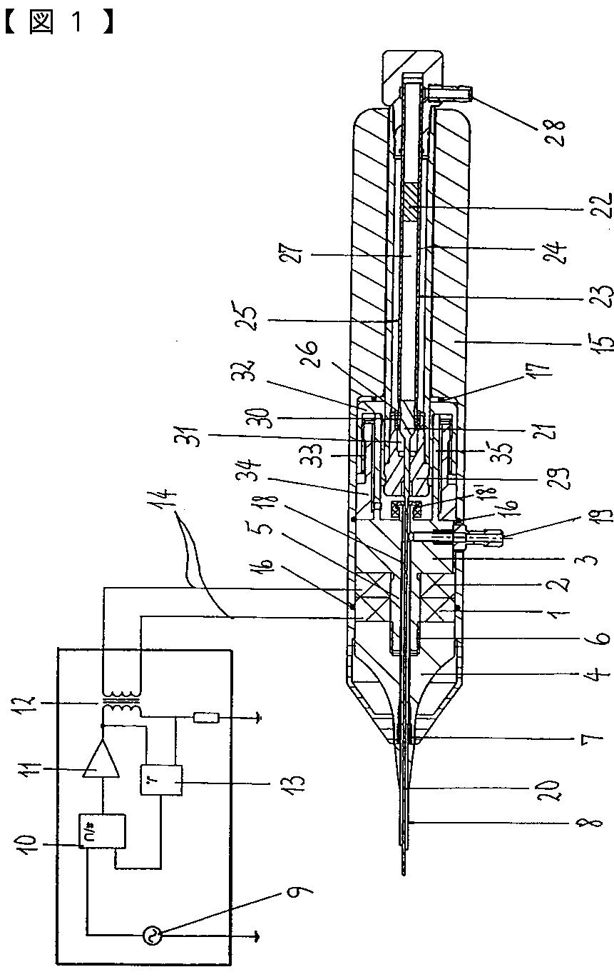
結石除去装置
授权日:
2007-03-16
公开(公告)号:
JP3931051B2
申请日:
2001-06-15
公开(公告)日:
2007-06-13
当前申请(专利权)人:
フェルトン ホールディング ソシエテ アノニム
发明人:
ヨアヒム ヒルト | ウォルフガング メルクレ
简单同族:
AT250391T | AU2001051913A1 | AU775592B2 | CA2349441A1 | CA2349441C | DE10029580C1 | EP1163882A1 | EP1163882B1 | ES2208495T3 | IL143631A | IL143631D0 | JP2002095670A | JP3931051B2 | US20020010486A1 | US6511485
简单同族成员数量:
15
简单同族被引用专利总数:
130
诉讼案件数:
0
法律状态/事件:
授权