标题:
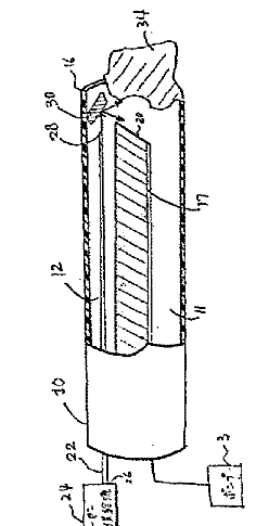
吸引を用いるレーザー砕石術デバイス
授权日:
1900-01-01
公开(公告)号:
JP2002537017A
申请日:
2000-02-18
公开(公告)日:
2002-11-05
当前申请(专利权)人:
ボストン サイエンティフィック リミテッド
发明人:
グラッソ, マイケル ザ サード | ゴッドシャル, ダグラス | リウ, クリフォード | トレマグリオ, アンソニー | ボーン, ジョージ
简单同族:
AU2000037007A1 | CA2362332A1 | DE60024585D1 | DE60024585T2 | EP1154727A2 | EP1154727B1 | JP2002537017A | JP2002537017A5 | JP4310049B2 | US20020002366A1 | US20020103477A1 | US20040243123A1 | US6375651 | US6726681 | US7104983 | WO2000048525A2 | WO2000048525A3 | WO2000048525A9
简单同族成员数量:
18
简单同族被引用专利总数:
255
诉讼案件数:
0
法律状态/事件:
未缴年费 | 权利转移