标题:
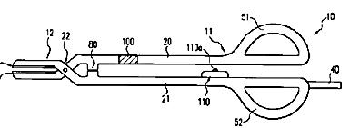
電気外科手術用器具
授权日:
1900-01-01
公开(公告)号:
JP2009509706A
申请日:
2006-09-26
公开(公告)日:
2009-03-12
当前申请(专利权)人:
エルベ エレクトロメディジン ゲーエムベーハー
发明人:
ディーター ハフナー | フローリアン アイゼーレ
简单同族:
CN101277654A | CN101277654B | CN102048578A | CN102048578B | DE102006042985A1 | EP1937174A2 | EP1937174B1 | JP2009509706A | JP5074406B2 | US20080215048A1 | US8926610 | WO2007039185A2 | WO2007039185A3
简单同族成员数量:
13
简单同族被引用专利总数:
107
诉讼案件数:
0
法律状态/事件:
授权