首页
专利数据库
产业人才
行业动态
产业政策法规
维权援助
个人中心
登录/注册
详情
文本
图像
标题:
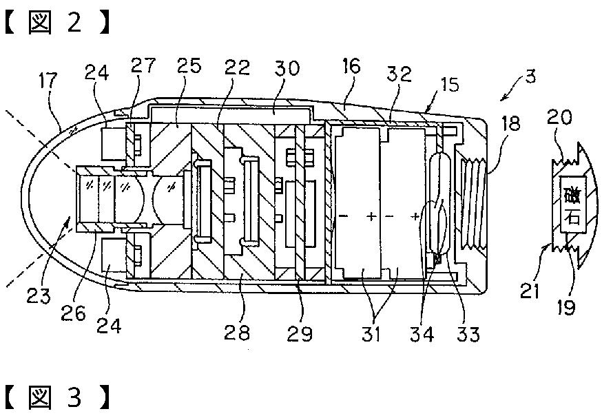
カプセル型医療装置
授权日:
2007-05-18
公开(公告)号:
JP3957272B2
申请日:
2002-01-22
公开(公告)日:
2007-08-15
当前申请(专利权)人:
オリンパス株式会社
发明人:
瀧澤 寛伸 | 内山 昭夫 | 横井 武司 | 安達 英之 | 瀬川 英建 | 穂満 政敏
简单同族:
JP2003210395A | JP3957272B2
简单同族成员数量:
2
简单同族被引用专利总数:
131
诉讼案件数:
0
法律状态/事件:
未缴年费