首页
专利数据库
产业人才
行业动态
产业政策法规
维权援助
个人中心
登录/注册
详情
文本
图像
标题:
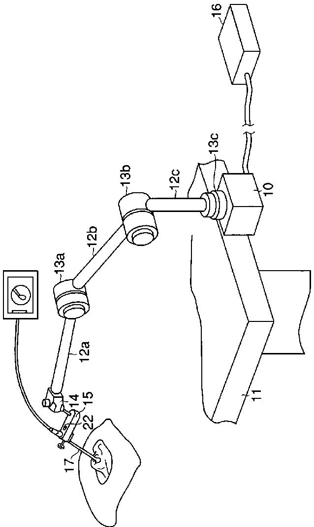
医療器具保持装置
授权日:
2010-03-12
公开(公告)号:
JP4472365B2
申请日:
2004-01-23
公开(公告)日:
2010-06-02
当前申请(专利权)人:
オリンパス株式会社
发明人:
塩田 敬司 | 中西 一仁 | 植田 昌章 | 大塚 聡司
简单同族:
DE602005002373D1 | DE602005002373T2 | EP1557134A1 | EP1557134B1 | JP2005204999A | JP4472365B2 | US20050165271A1 | US20110040406A1 | US7904206 | US8271135
简单同族成员数量:
10
简单同族被引用专利总数:
37
诉讼案件数:
0
法律状态/事件:
授权 | 权利转移