首页
专利数据库
产业人才
行业动态
产业政策法规
维权援助
个人中心
登录/注册
详情
文本
图像
标题:
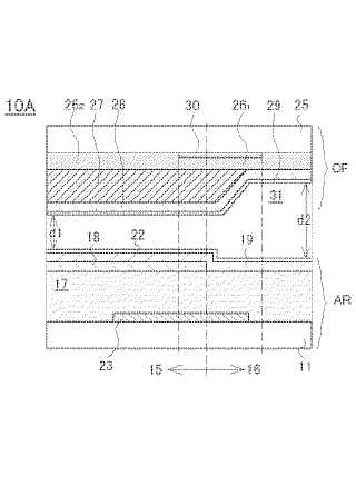
半透過型液晶表示パネル及び電子機器
授权日:
1900-01-01
公开(公告)号:
JP2009008876A
申请日:
2007-06-28
公开(公告)日:
2009-01-15
当前申请(专利权)人:
エプソンイメージングデバイス株式会社
发明人:
田中 慎一郎 | 上原 利範
简单同族:
JP2009008876A
简单同族成员数量:
1
简单同族被引用专利总数:
0
诉讼案件数:
0
法律状态/事件:
驳回 | 权利转移