首页
专利数据库
产业人才
行业动态
产业政策法规
维权援助
个人中心
登录/注册
详情
文本
图像
标题:
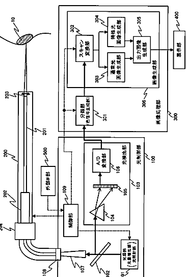
光制御装置、制御装置、光学スコープ及び光走査型光学装置
授权日:
1900-01-01
公开(公告)号:
JP2011127933A
申请日:
2009-12-15
公开(公告)日:
2011-06-30
当前申请(专利权)人:
オリンパス株式会社
发明人:
佐々木 寛
简单同族:
JP2011127933A | JP2011127933A5 | JP5570798B2 | US20120242859A1 | US9335269 | WO2011074448A1
简单同族成员数量:
6
简单同族被引用专利总数:
31
诉讼案件数:
0
法律状态/事件:
授权 | 权利转移