首页
专利数据库
产业人才
行业动态
产业政策法规
维权援助
个人中心
登录/注册
详情
文本
图像
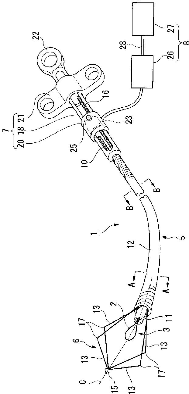
标题:
結石破砕装置
授权日:
2012-10-12
公开(公告)号:
JP5105955B2
申请日:
2007-05-29
公开(公告)日:
2012-12-26
当前申请(专利权)人:
オリンパスメディカルシステムズ株式会社 | テルモ株式会社
发明人:
宮本 諭 | 西家 武弘 | 小林 淳一 | 木下 康
简单同族:
DE602007002746D1 | EP1864618A1 | EP1864618B1 | JP2007325925A | JP5105955B2 | US20080033467A1 | US8092470
简单同族成员数量:
7
简单同族被引用专利总数:
83
诉讼案件数:
0
法律状态/事件:
授权 | 权利转移