首页
专利数据库
产业人才
行业动态
产业政策法规
维权援助
个人中心
登录/注册
详情
文本
图像
标题:
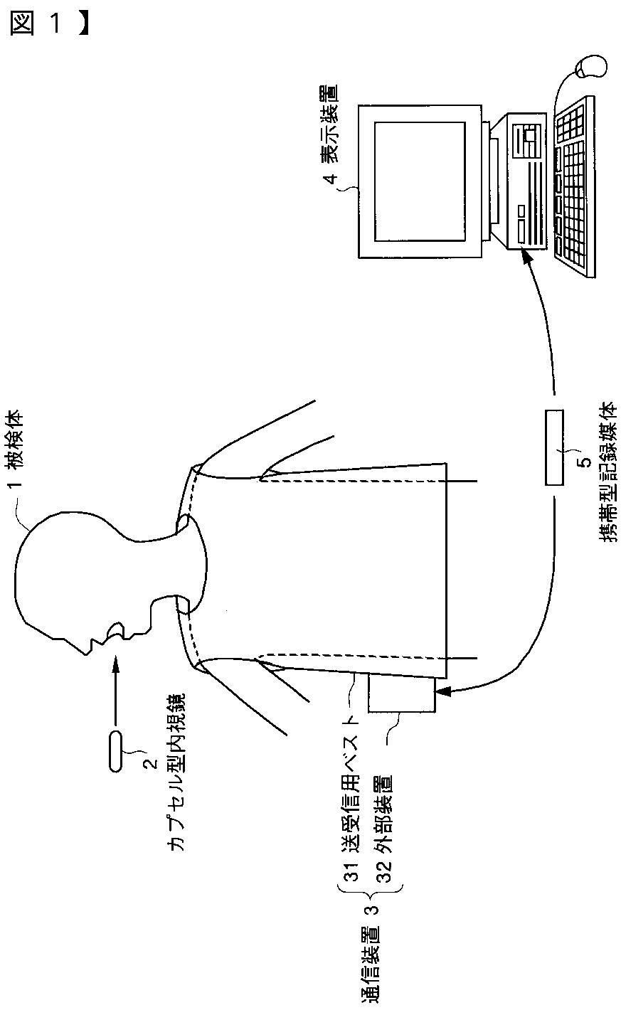
電力供給装置
授权日:
2007-12-14
公开(公告)号:
JP4054319B2
申请日:
2004-03-29
公开(公告)日:
2008-02-27
当前申请(专利权)人:
オリンパス株式会社
发明人:
本多 武道 | 清水 初男 | 薬袋 哲夫 | 中土 一孝
简单同族:
CN1938921A | JP2005287150A | JP2005287150A5 | JP4054319B2 | US20070032697A1 | US20110254380A1 | US8029436 | WO2005093927A1
简单同族成员数量:
8
简单同族被引用专利总数:
43
诉讼案件数:
0
法律状态/事件:
未缴年费 | 权利转移