首页
专利数据库
产业人才
行业动态
产业政策法规
维权援助
个人中心
登录/注册
详情
文本
图像
标题:
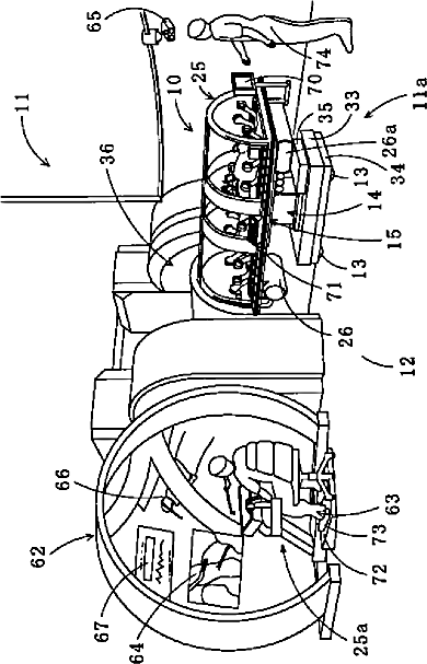
手術台装置
授权日:
1900-01-01
公开(公告)号:
JP2003299674A
申请日:
2002-04-12
公开(公告)日:
2003-10-21
当前申请(专利权)人:
白石 昌資 | 橋爪 誠 | 佐久間 一郎
发明人:
白石 昌資
简单同族:
JP2003299674A
简单同族成员数量:
1
简单同族被引用专利总数:
37
诉讼案件数:
0
法律状态/事件:
驳回