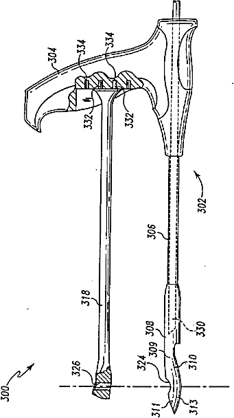
标题:
骨プレーティング装置
授权日:
1900-01-01
公开(公告)号:
JP2003093399A
申请日:
2002-06-26
公开(公告)日:
2003-04-02
当前申请(专利权)人:
デピュイ·プロダクツ·インコーポレイテッド
发明人:
マイケル·エイ·ワック | パメラ·シー·ガズマン | デール·アール·シュルズ | ギャリー·ダブリュ·ナイト | クリストファー·ジェイ·ヘス | ルドルフ·エイチ·ノビス | マイケル·エフ·クレム | ロナルド·ジェイ·コラタ
简单同族:
AT489904T | AT491401T | AU2002048945A1 | AU2002305696A1 | AU2002305696B2 | AU2002305696C1 | AU2002348945A1 | AU785392B2 | DE60238484D1 | DE60238582D1 | EP1275348A2 | EP1275348A3 | EP1275348B1 | EP1408856A2 | EP1408856A4 | EP1408856B1 | JP2003093399A | JP2005506117A | JP2005506117A5 | JP4180506B2 | JP4278926B2 | US20030004513A1 | US20050177153A1 | US20050177159A1 | US20050261555A1 | US7819877 | US8328808 | US8845648 | WO2003002022A2 | WO2003002022A3
简单同族成员数量:
30
简单同族被引用专利总数:
162
诉讼案件数:
0
法律状态/事件:
未缴年费 | 权利转移