首页
专利数据库
产业人才
行业动态
产业政策法规
维权援助
个人中心
登录/注册
详情
文本
图像
标题:
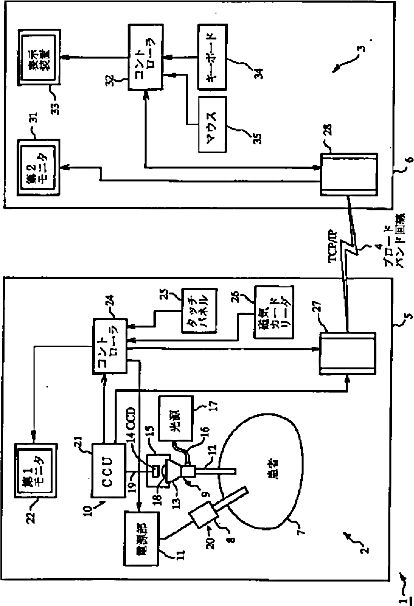
遠隔手術支援システム
授权日:
1900-01-01
公开(公告)号:
JP2002306509A
申请日:
2001-04-10
公开(公告)日:
2002-10-22
当前申请(专利权)人:
オリンパス光学工業株式会社
发明人:
内久保 明伸
简单同族:
JP2002306509A | JP2002306509A5 | US20020147384A1 | US20050057496A1 | US6950691 | US7272430
简单同族成员数量:
6
简单同族被引用专利总数:
128
诉讼案件数:
0
法律状态/事件:
驳回