首页
专利数据库
产业人才
行业动态
产业政策法规
维权援助
个人中心
登录/注册
详情
文本
图像
标题:
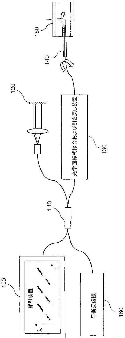
管腔解剖構造の光学イメージングのためのシステムおよびプロセス
授权日:
1900-01-01
公开(公告)号:
JP2011500173A
申请日:
2008-10-13
公开(公告)日:
2011-01-06
当前申请(专利权)人:
ザ ジェネラル ホスピタル コーポレイション
发明人:
スーター,メリッサ,ジェイ. | ティアニー,ギレルモ,ジェイ. | バウマ,ブレット,ユージン
简单同族:
EP2207469A2 | EP2207469A4 | JP2011500173A | US20090131801A1 | WO2009049296A2 | WO2009049296A3
简单同族成员数量:
6
简单同族被引用专利总数:
66
诉讼案件数:
0
法律状态/事件:
驳回