首页
专利数据库
产业人才
行业动态
产业政策法规
维权援助
个人中心
登录/注册
详情
文本
图像
标题:
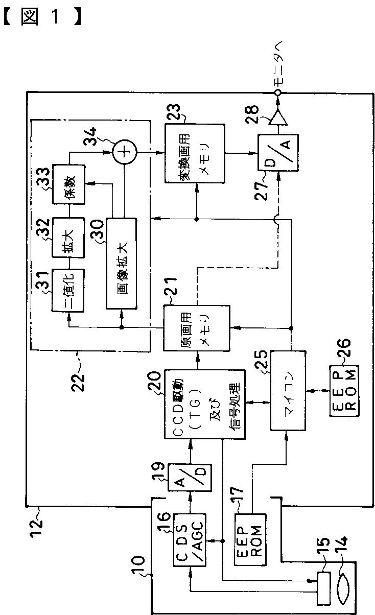
電子内視鏡装置
授权日:
2007-05-25
公开(公告)号:
JP3962553B2
申请日:
2001-03-30
公开(公告)日:
2007-08-22
当前申请(专利权)人:
フジノン株式会社
发明人:
阿部 一則 | 岡田 藤夫
简单同族:
DE10212915A1 | DE10212915B4 | JP2002300574A | JP3962553B2 | US20020140807A1 | US6943821
简单同族成员数量:
6
简单同族被引用专利总数:
65
诉讼案件数:
0
法律状态/事件:
未缴年费 | 权利转移