首页
专利数据库
产业人才
行业动态
产业政策法规
维权援助
个人中心
登录/注册
详情
文本
图像
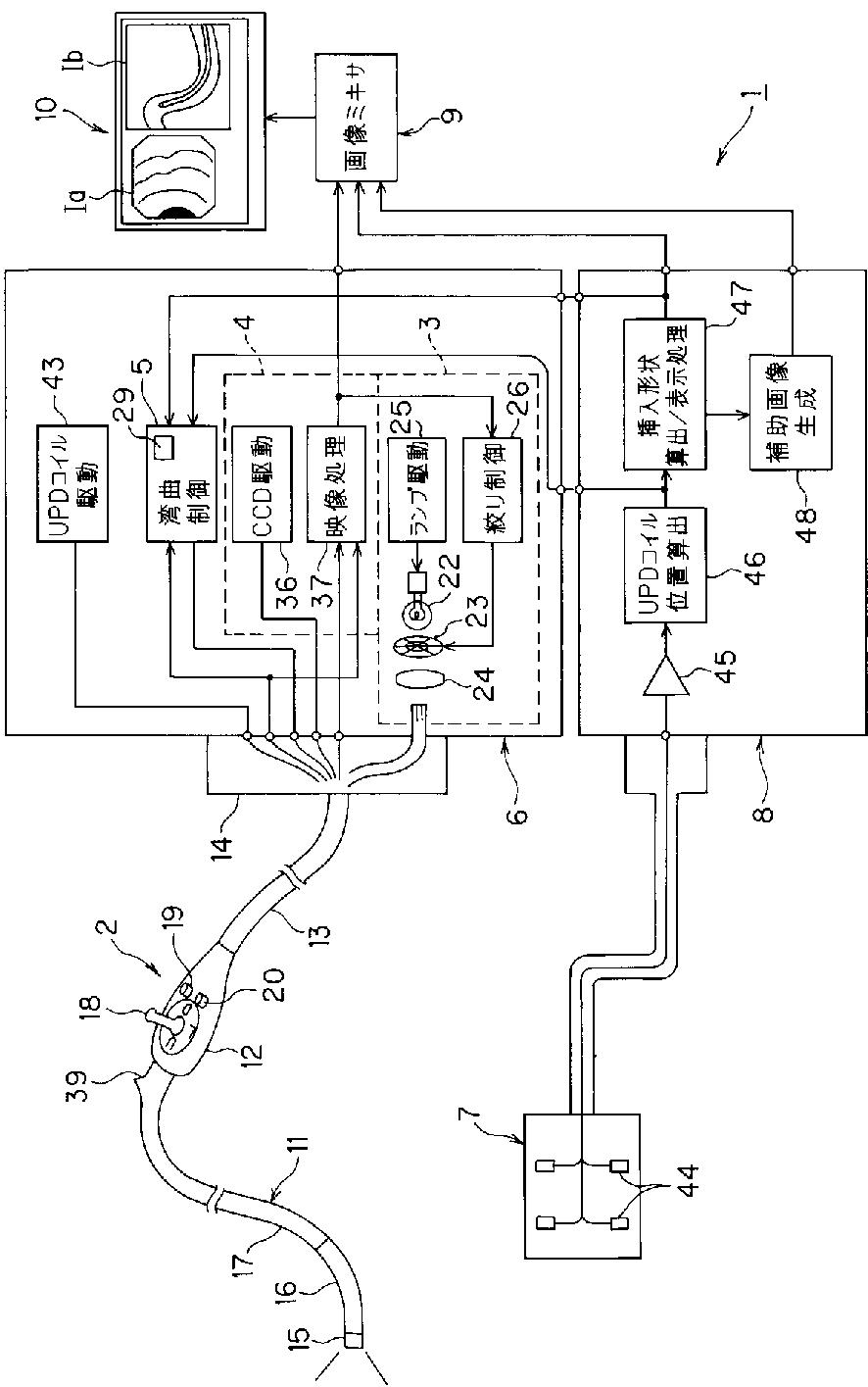
标题:
湾曲制御装置
授权日:
2011-03-04
公开(公告)号:
JP4695420B2
申请日:
2005-03-28
公开(公告)日:
2011-06-08
当前申请(专利权)人:
オリンパス株式会社 | オリンパスメディカルシステムズ株式会社
发明人:
辻 潔 | 谷口 明
简单同族:
EP1800593A1 | EP1800593A4 | EP1800593B1 | JP2006116289A | JP4695420B2 | US20070173694A1 | US8038605 | WO2006035693A1
简单同族成员数量:
8
简单同族被引用专利总数:
112
诉讼案件数:
0
法律状态/事件:
授权 | 权利转移