首页
专利数据库
产业人才
行业动态
产业政策法规
维权援助
个人中心
登录/注册
详情
文本
图像
标题:
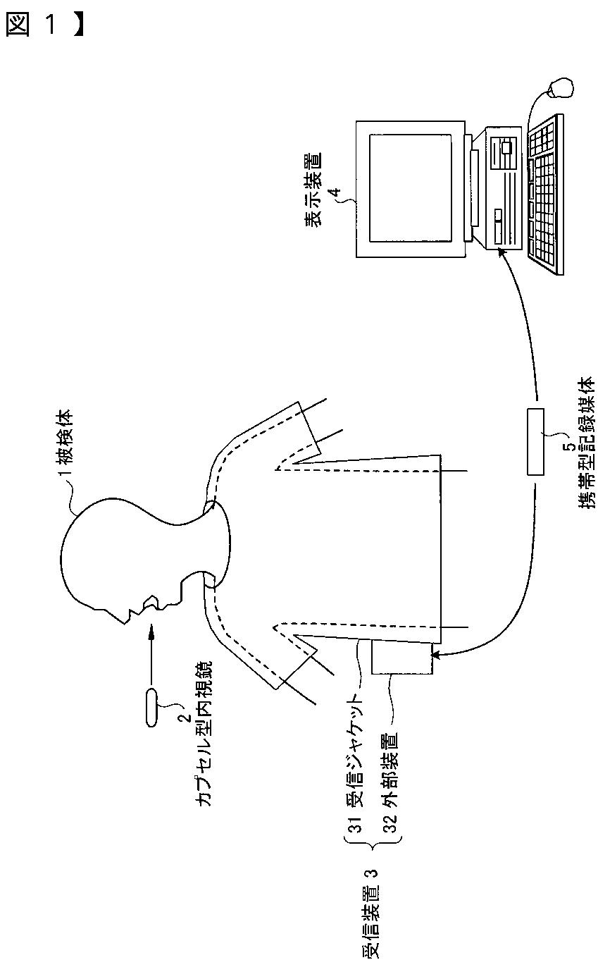
被検体内情報取得装置の収容ケース
授权日:
2010-10-22
公开(公告)号:
JP4611033B2
申请日:
2005-01-05
公开(公告)日:
2011-01-12
当前申请(专利权)人:
オリンパス株式会社
发明人:
瀬川 英建
简单同族:
CN101098652A | CN101098652B | DE602005025696D1 | EP1834568A1 | EP1834568A4 | EP1834568B1 | JP2006187424A | JP2006187424A5 | JP4611033B2 | US20080027267A1 | US7770725 | WO2006073030A1
简单同族成员数量:
12
简单同族被引用专利总数:
55
诉讼案件数:
0
法律状态/事件:
授权 | 权利转移